Back to Home Page of CD3WD Project or Back to list of CD3WD Publications

CLOSE THIS BOOKMilling of End Face - Course: Techniques for machining of material. Trainees' handbook of lessons (Institut für Berufliche Entwicklung, 18 p.)
VIEW THE DOCUMENT(introduction...)
VIEW THE DOCUMENT1. Purpose and importance of milling end faces
VIEW THE DOCUMENT2. Types of milling tools used
VIEW THE DOCUMENT3. Preparations for milling end faces
VIEW THE DOCUMENT4. Milling of end faces

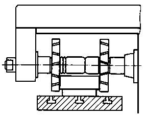
2. Types of milling tools used

End face milling ensues either through hobbing or face milling. Commensurately, milling tools employed for treating flat or parallel surfaces are used, i.e.

- plain milling cutters and end face mills
- end mill cutters
- cylindrical cutters are gang cutters, combined
- milling heads (cutter heads)


Figure 5 End face mill


Figure 6 Flat milling head (face milling cutter)


Figure 7 End face mill on the two-spindle milling machine


Figure 8 Two cylindrical cutters combined as gang cutter


Figure 9 End mill cutter

These milling tools shall be selected and used together with the commensurate tool clamping means and clamping possibilities on horizontal or vertical milling machines in line with the specific work assignment.

TO PREVIOUS SECTION OF BOOK TO NEXT SECTION OF BOOK