Back to Home Page of CD3WD Project or Back to list of CD3WD Publications

CLOSE THIS BOOKMilling of End Face - Course: Techniques for machining of material. Trainees' handbook of lessons (Institut für Berufliche Entwicklung, 18 p.)
VIEW THE DOCUMENT(introduction...)
VIEW THE DOCUMENT1. Purpose and importance of milling end faces
VIEW THE DOCUMENT2. Types of milling tools used
VIEW THE DOCUMENT3. Preparations for milling end faces
VIEW THE DOCUMENT4. Milling of end faces

1. Purpose and importance of milling end faces

End faces are those workpiece surfaces which determine its length,


Figure 1

1 face side of a workpiece

They are characterized as left and right, or first and second end face.

The processing of end faces by means of the finishing operation "milling" takes place for the following reasons:

- to establish the dimensional length limitations of workpieces
- for utilization as a bolting surface for other workpieces, components and elements, and
- for yielding a visual working surface.

The processing of end faces can be undertaken using horizontal or vertical milling machines employing either plain or face milling procedures.


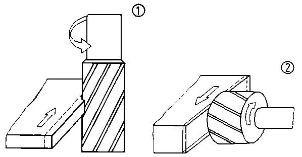
Figure 2

(1) plain milling of an end face, (2) face milling of an end face

End faces are at right angles (90°) to the longitudinal sides of the workpieces. In exceptions one deviates from the rectangular position of the end faces. In such a contingency the resultant surfaces are described as slanting surfaces or inclines,


Figure 3

1 end face at right angles (90°)
2 end face as incline

Where both end faces are processed and are at right angles to the longitudinal sides, then the opposite facing surfaces are also parallel to each other (parallel surfaces).


Figure 4 End faces as parallel faces

End faces can be milled:

- independently of one another in single-piece clamping
- independently of one another in multi-piece clamping (package)
- by means of a portal milling machine, a two-spindle milling machine or a horizontal milling machine (with gang cutter) by simultaneously working two end faces. In such a case too, single or multi-piece clamping of workpieces is possible.

Where are the end faces of a workpiece?

__________________________________________________

For which purpose (examples) are end faces processed?

__________________________________________________

Which milling machines are suited for processing end faces?

__________________________________________________

TO PREVIOUS SECTION OF BOOK TO NEXT SECTION OF BOOK