Back to Home Page of CD3WD Project or Back to list of CD3WD Publications

CLOSE THIS BOOKManual Sawing - Course: Technique for manual working of materials. Instruction examples for practical vocational training (Institut für Berufliche Entwicklung, 31 p.)
VIEW THE DOCUMENT(introduction...)
VIEW THE DOCUMENTIntroduction
VIEW THE DOCUMENTInstruction example 4.1. Spacers and pin drifts
VIEW THE DOCUMENTInstruction example 4.2. Stands and supports
VIEW THE DOCUMENTInstruction example 4.5. Container
VIEW THE DOCUMENTInstruction example 4.4. Vee-shaped attachment
VIEW THE DOCUMENTInstruction example 4.5. Steel square
VIEW THE DOCUMENTInstruction example 4.6. Angle-steel frame table
VIEW THE DOCUMENTInstruction example 4.7. Wall-shelf bracket

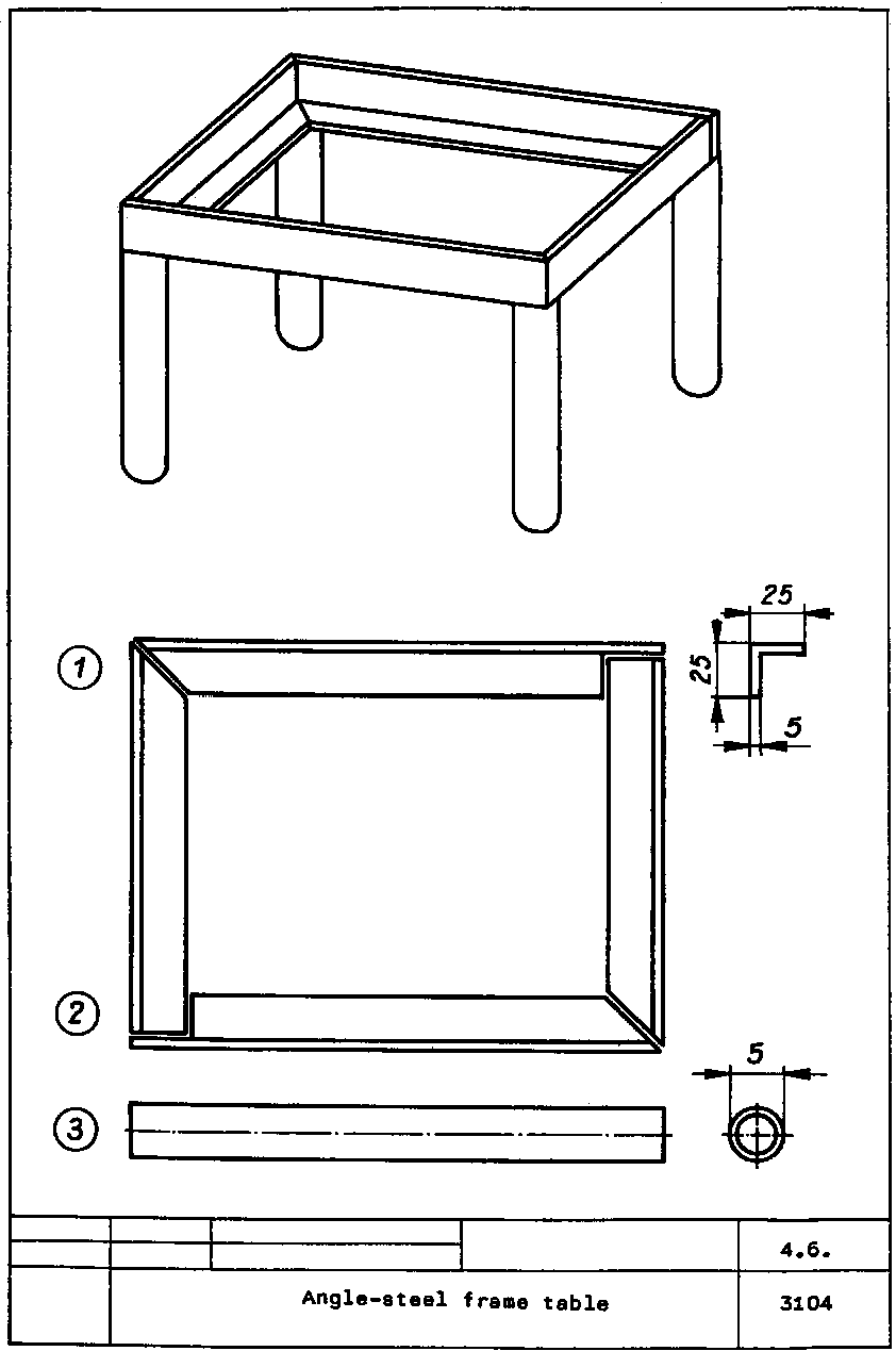
Instruction example 4.6. Angle-steel frame table

To practise straight and mitre cuts on angles for angle splices to specified size.

Material

- Angles of 25 x 25 x 5 thick, length depending on table size.

- Steel tube of 25 mm diameter, length depending on table size (or to suit training example 4.2.).


Figure

Hand tools

Steel scriber, mark-out punch, engineers’ hammer, hand hacksaw (saw blade With normal tooth pitch), smooth-cut file 250 mm (flat).

Measuring and testing tools

Measuring tape, try square, protractor or centre square.

Accessories

Vice, whiting, cutting oil

Required previous knowledge

Reading of drawings, measuring and testing, scribing and prick-punching.

Sequence of operations

Comments

1. Arrange the working place, prepare the working materials.

- Check for completeness.

2. Saw 4 angles roughly to specified length (5 - 10 mm longer than specified).

- Length to be specified by the instructor.

3. Coat all end faces with whiting after drying scribe and prick-punch the 45° angle for the mitre cut, saw the mitre.

- Stage (1)
Scribe on the outside face.

4. Scribe the exact length from the mitre side, mark and prick-punch the cutout (square)/straight cut at this end face.

- Stage (2)
Mitre cut, cutout and straight cut to be specified as per drawing (straight cut to be scribed outside, cutout to be scribed inside)

5. Saw 4 steel tubes to specified length (depending on table height), constantly turn the tubes while sawing 1

- Stage (3)

6. Final inspection.

- Quality of mitre cut and straight cut.

Completion

Deburr the cut edges, put individual parts together and have them welded together. Insert a steel plate or wooden plate.


Angle-steel frame table

TO PREVIOUS SECTION OF BOOK TO NEXT SECTION OF BOOK