Back to Home Page of CD3WD Project or Back to list of CD3WD Publications

CLOSE THIS BOOKManual Sawing - Course: Technique for manual working of materials. Instruction examples for practical vocational training (Institut für Berufliche Entwicklung, 31 p.)
VIEW THE DOCUMENT(introduction...)
VIEW THE DOCUMENTIntroduction
VIEW THE DOCUMENTInstruction example 4.1. Spacers and pin drifts
VIEW THE DOCUMENTInstruction example 4.2. Stands and supports
VIEW THE DOCUMENTInstruction example 4.5. Container
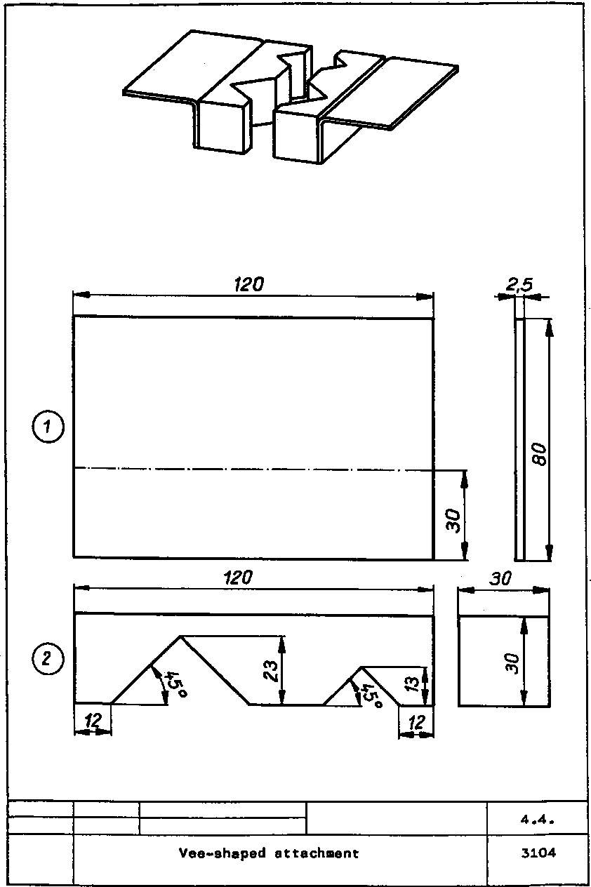
VIEW THE DOCUMENTInstruction example 4.4. Vee-shaped attachment
VIEW THE DOCUMENTInstruction example 4.5. Steel square
VIEW THE DOCUMENTInstruction example 4.6. Angle-steel frame table
VIEW THE DOCUMENTInstruction example 4.7. Wall-shelf bracket

Instruction example 4.4. Vee-shaped attachment

To practise straight long cuts on sheet metal and angular cuts on solid square bar steel.

Material

- 2 x sheet steel (380 MPa)
Thickness: 2.5 mm
Width: 85 mm
Length: 125 mm

- 2 x square bar steel (420 MPa)
Thickness: 30 mm
Length: 125 mm


Figure

Hand tools

Steel scriber, mark-out punch, engineers’ hammer, aluminium hammer, hand hacksaw (saw blade with normal tooth pitch), smooth-cut file 250 mm (flat).

Measuring and testing tools

Steel measuring tool, protractor, try square.

Accessories

Vice, surface plate, cutting oil.

Required previous knowledge

Reading of drawings, measuring and testing, scribing and prick-punching.

Sequence of operations

Comments

1. Arrange the working place, prepare the working materials.

- Check for completeness.

2. Scribe sheet steel and saw to length and width, smooth edges with file.

- Part (1)
Check for squareness
(try square).

3. Saw square bar steel to length, smooth and face with file.

- Check for squareness.

4. Scribe, prick-punch and saw out angles.

- Part (2)
Provide saw blade with

5. Smooth inner angle faces with file, chamfer all edges.

cutting oil.

6. Final inspection.

- Dimensions, appearance.

Completion

Connect sheets with square steel by screwing or rivetting
(to be specified by the instructor).

Clamp parts in vice and bend sheets by hammering with aluminium hammer.


Vee-shaped attachment

TO PREVIOUS SECTION OF BOOK TO NEXT SECTION OF BOOK