Back to Home Page of CD3WD Project or Back to list of CD3WD Publications

CLOSE THIS BOOKOperations with Routing Machines - Course: Mechanical woodworking techniques. Trainees' handbook of lessons (Institut für Berufliche Entwicklung, 13 p.)
2. Assembly of a Routing Machine
VIEW THE DOCUMENT(introduction...)
VIEW THE DOCUMENT2.1. Operation Mechanism of the Machine
VIEW THE DOCUMENT2.2. Drive
VIEW THE DOCUMENT2.3. Chuck and Tool Mounting

Operations with Routing Machines - Course: Mechanical woodworking techniques. Trainees' handbook of lessons (Institut für Berufliche Entwicklung, 13 p.)

2. Assembly of a Routing Machine

The operations undertaken by the machine precondition the following main functions of a routing machine:

- stable workpiece support and all-round workpiece freedom of movement at table level,
- axial application and interruption of the milling tools,
- a high tool rotational speed,
- sound tool chucking facilities and quiet spindle running,
- simple and safe operations of machine elements, easily reached operating elements.

The heavy cast iron stand ensures a quiet and vibration-free running of the machine and the arrangement of the various elements enable application as:

- routing machine
- bore miller and
- shaping machine


Figure 1 - Routing machine

1 setting device for the locator pin, 2 machine table, 3 locator pin, 4 chuck, 5 guard basket, 6 milling support, 7 gear cover, 8 differential spacer, 9 compensating screw, 10 motor, 11 machine frame, 12 hand wheel to arrest the compensating mass, 13 foot level, 14 hand wheel for table adjustment

2.1. Operation Mechanism of the Machine

In order to undertake surface milling, milling out and bores the spindle, in addition to the rotational movement, must also execute an axial feed movement.

Spindle lowering ensues by depressing the foot lever. The equalization mass compensates as counterweight for the weight of the milling support. Thereby the actuating forces are reduced. The spindle can be lowered for bore operations by depressing the foot lever or raised for routing operations, depending on the position of the reversing lever on the crank lever.


Figure 2 - Spindle limitation

1 spiral spacer, 2 stop, 3 compensating screw

The spindle stroke can be limited for setting the milling depth. The greatest possible spindle stroke is 100 mm. A stroke limitation of around 40 mm can be set by turning the spiral spacer. The stop can also be adjusted heightwise and, co-ordinated with the spiral space, make possible a height adjustment of between 0 and 100 mm. The stop screw makes possible fine setting. Instead of a spiral spacer other machine types feature a revolver head with a maximum of eight setting screws. Thereby it is possible to store a number of setting dimensions for later work assignments.

The machine table features a height adjustment facility. Setting ensues by turning the hand wheel. The shaft guide of the machine table can be arrested by means of a set-screw.

A locator pin has been positioned in a cavity beneath the spindle axis. The locator pin can be used for various tool diameters, that is to say it is interchangeable, for it features a height adjustment facility by means of which the pin can be raised in several stages over the table surface. The locator pin acts as stop for various locating facilities.

2.2. Drive

The routing machine is driven by an electric motor with a wattage of some 1.5 kW and a rotational speed of approx. 2850 min-1. The spindle rotational speed can be switched as desired by means of a flat belt gear or, using interchangeable belt pulley pairs, to 3000 min-1,12000 min-1 or 18000 min-1.

The lower spindle rotational speed is used for drilling simple bores into the borehole walls. It is desirable to use the medium rotational ranges when operating as shaping machine.

When undertaking routing operation with a small tool diameter, select the greatest rotational speed for attaining the necessary cutting speed.

Switching over to another rotational speed ensues by exchanging the one belt pulley pair for another set with a different speed ratio. The various belt pulleys are available as machine accessories.


Figure 3 - Machine drive

1 flat belt pulley pair, 2 V-belt pulley pair, 3 motor, 4 milling spindle

Excessively high spindle rotational speeds exert a considerable strain on the spindle bearings. These elements must be properly maintained and tended to in line with the machine instruction manual provisions. All the movable parts of the machine must be kept thoroughly clean and greased regularly after a certain number of operating hours.

Depending on the hardness of the material, milling speeds of 20 ms-1 to 80 ms-1 are required. Cutting speeds of 1 ms-1 to 15 ms-1 are required for bores.

The cutting speed “v” in ms-1 can be calculated from the formula v = d · p · n

Example:

Which cutting speed “v” applies when, given a spindle rotational speed of n = 12000 min-1, a tool measuring 20 mm in diameter (d) is to be used? (p = 3.14)

Solution:


v = 12.56 ms-1

The cutting speed is 12.56 ms-1.

The calculated cutting speed is still too low for routing operations. The determined cutting speed is, however, sufficient for boring and milling operations. As regards boring, the cutting speed is the top limit and the tool yields clean bore walls. The release of chips creates difficulties with deep boreholes. This rotational speed should therefore only be employed for bore operations of minimal bore depth.

Exercise:

Which maximum cutting speed results when using a 16 mm chamfer mill at a spindle rotational speed of 12000 min-1?

known:


unknown:

d = 16 mm

v = d · p· n

v =?

n = 12000 min-1



p = 3.14



2.3. Chuck and Tool Mounting

The utilization of single-cutter tools presupposes the eccentric chucking of the tools in the clamp. Consequently, a clearance angle is formed between tool surface and working face whereby lateral milling vis-à-vis the tool axis becomes possible. The eccentric tool clamping causes unbalance during rotation. This in turn, would lead to vibrations in the machine and subsequently, machine damage and serious accidents.


Figure 4 - Single-edged milling tool in chuck

1 balancing screw, 2 chuck, 3 tool, 4 knife cutting circle, 5 eccentricity

Therefore, every tool clamp must be balanced jointly with the tool. For this reason tapped holes are inserted into eccentric chucks. During balancing screws are turned into these bores for the eccentrically chucked tool. The chuck is tightened in a balancing roll for balancing. The roll is then made to roll slightly on an even and thoroughly even glass plate. By altering the distribution of screws in the chuck the weight distribution is changed around until the roll remains stationary in any position. Then the chuck is sufficiently balanced.

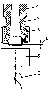
Ensure that the chuck cone is free from grease and dust and in sound condition when the chuck is positioned in the spindle.


Figure 5 - Chuck mounting to the milling spindle

1 milling spindle, 2 cone, 3 differential nut, 4 knife cutting circle, 5 eccentricity

The positioned chuck is tightly clamped with a differential nut which is only moderately tightened. The chuck has been correctly placed if merely two thread leads are visible below the differential nut.

The knife cutting circle can be altered on the eccentric chuck by varying the plan angle between tool cutter and the line chuck to tool axis. The mill width of the tool can thus be aligned simply to the processing job in hand.


Figure 6 - Eccentric chucking of the routing tools (example (1), (2), (3))

1 clearance angle, 2 knife cutting circle

Plan angle c= 0º

cutting possible but tool inclined to bum as no plan angle available.

Plan angle c= 30º to 50º

optimal cutting conditions and best quality, knife cutting circle becomes smaller.

Plan angle c = 90º

cutting is no longer possible as the workpiece rear face extends beyond the knife cutting circle. The cutter is not brought into play.

Staggered chuck sizes are required for chucking the various tool types. These chucks feature differing eccentricities. Consequently, however, a small number of tool suffice for setting up differing working widths.

Table 1: Setting table to determine the chuck sizes for cylindrical routing machines



d2 at =



d2 at =

d1

F

50º

30º

d2

F

50º

30º

2.5

0.5

2.85

3

10.5

3

12.6

13.2

2.5

1

3.2

3.4

11

3

13.2

13.8

3

1

3.7

3.9

11

4

14

14.7

3.5

1

4.2

4.4

12

4

15

15.6

4

1.5

5.1

5.3

13

4

15.9

16.9

4.5

1.5

5.6

5.9

13

5

16.8

17.8

5

1.5

6.1

6.4

14

5

17.6

18.6

5.5.

2

6.9

7.35

15

5

18.6

19.4

6

2

7.4

7.75

16

5

19.4

20.4

6.5

2

8

8.4

16

6

20.4

21.4

6.5

2.5

8.5

8.85

17

6

21.4

22.4

7

2.5

8.8

9.4

18

6

22.4

23.2

7.5

2.5

9.4

9.9

19

6

23.2

24.4

8

2.5

9.9

10.4

19

7

24

25.2

8

3

10.2

10.7

20

7

25.2

26.4

8.5

3

10.6

11.2

20

8

26

27.4

9

3

11.2

11.6

22

8

27.5

29

9.5

3

11.6

12.2

22

9

28.5

30

10

3

12.2

12.6

c = routing machine plan angle, d1 = tool diameter, d2 = knife cutting circle, F = chuck size

Example:

A milling width of d2 = 20 mm is required.

Which chuck size should be selected?

Which workpiece diameter is used?

According to Table 1, when using a tool with a diameter d1 = 16 mm in the chuck size F = 5, the result is a possible milling width of d2 = 19.4 to 20.4 mm

Table 1 does not feature the various milling widths d2. How can the not cited value d2 = 6.0 mm be calculated?
_________________________________________________________________________
_________________________________________________________________________
_________________________________________________________________________

Centrical chucks are also used for multi-cutter tools. Balancing is not necessary with these chucks. The knife cutting circle remains constant and is not subject to change through setting measures.

TO PREVIOUS SECTION OF BOOK TO NEXT SECTION OF BOOK