Back to Home Page of CD3WD Project or Back to list of CD3WD Publications

CLOSE THIS BOOKOperations with Shaping Machines - Course: Mechanical woodworking techniques. Trainees' handbook of lessons (Institut für Berufliche Entwicklung, 18 p.)
VIEW THE DOCUMENT(introduction...)
VIEW THE DOCUMENT1. Purpose of Shaping Machine Operations
VIEW THE DOCUMENT2. Construction of a Shaping Machine
VIEW THE DOCUMENT3. Tools of a Shaping Machine
VIEW THE DOCUMENT4. Mode of Operation of a Shaping Machine
VIEW THE DOCUMENT5. Servicing and Looking After the Machine
VIEW THE DOCUMENT6. Labour Safety Measures

2. Construction of a Shaping Machine

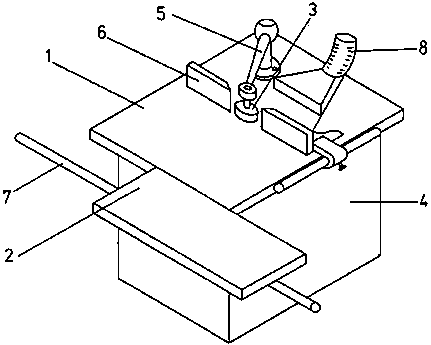
A shaping machine consists in the main of a machine frame with a stationary resp. movable machine table, the milling support, cutter arbor, guide rule with exhaust cap, drive facilities with operating elements and labour safety provisions.


Figure 4 - Shaping machine

1 machine table, 2 movable table, 3 cutter arbor with tool, 4 machine frame, 5 top bearing support with top bearing,. 6 guide rule with stop faces, 7 guide tube, 8 exhaust facility

The machine table is plane and smooth and features a circular shaped opening to absorb the cutter arbor. The opening has a diameter of 260 mm and is aligned to the processing job in hand by means of table spacers. The machine table also features throughgoing tap holes for attaching additional aids.

The movable section of the table makes it possible to chuck on bigger workpieces to the table.

This improve work safety, particularly when larger tools are used, for instance when undertaking tenon milling. A boom for the top bearing can be mounted onto the stationary section of the table. This is, moreover, essential when using heavy tools on a cutter arbor with top bearing tenon. The top bearing protects the cutter arbor and spindle from damage through overloading.

Milling support

This consists in the main of a milling spindle, a guide facility for adjusting the height of the milling spindle and operating elements for the height adjustment. The milling spindle has precision running in bearings. Felt spacers prevent the penetration of dust into the bearings. The top section of the spindle, the spindle neck, features a coned bore.

No dirt must enter this bore whilst the cutter arbor is changed. Otherwise the fitting is destroyed and the cutter arbor does not run centrically.

The spindle neck has an external thread and features a sleeve nut for attaching the cutter arbor. Two belt pulleys are attached to the lower end of the milling spindle for the selective setting of two speed variants.

Cutter arbor

Cutter arbors with a shaft diameter of between 25 and 30 mm are used for normal shaping machine operations. Cutter arbors with or without top bearing tenons are used depending on the size of tools employed and rotational speed load.

Cutter arbors with top bearing tenons may only be used with top bearings!


Figure 5 - Cutter arbors

(1) cutter arbor without top bearing tenons,
(2) cutter arbor with top bearing tenons

1 morse taper, 2 differential thread, 3 cutter arbor shaft, 4 cutter arbor spacers, 5 cutter arbor nuts, 6 safety nut, 7 top bearing tenon

The cutter arbor is securely connected to the spindle by means of the Morse taper and differential nut thread. The spindle thread features a lesser increment than the cutter arbor thread (difference = one mm). Ensure when tightening the differential nut that already slight wrench tightening gives rise to considerable chucking stress in the Morse taper fitting. For that reason a wrench extension should not be used when tightening the cutter arbor nut. The inserted cutter arbor must clearly feature two thread leads above the differential nut.


Figure 6 - Spindle neck with assembled cutter arbor

1 morse taper, 2 spindle neck, 3 differential thread (cutter arbor), 4 differential thread (spindle neck), 5 differential nut, 6 cutter arbor shaft

The cutter arbor spacers of differing thicknesses permit the mounting of milling tools of varying strengths. Try to ensure that the tool attached to the cutter arbors without top bearing tenons is positioned in the lower shaft area.

Minimal unbalance of the tool and uneven processing forces are consequently more easily compensated for by the milling spindle.

The cutter arbor nut with the complete thread engaged is required for tightly chucking the tool. This requirement can be met through a proper selection of the differing cutter arbor spacers.

Where cutter arbors have a shaft diameter of 25 mm the cutter arbor spacers have a height respectively of 5, 8, 10, 16 and 25 mm. The cutter arbor nut has a thread of M24 x 2 or M30 x 2. If (in exceptional cases) the spindle is operated in clockwise rotation with a cutter arbor without top bearing tenons, a safety nut must be countered against the cutter arbor nut.

The safety nut has a M16 x 1.5 left thread!

Ensure that the cutter arbor nut is only slightly tightened. On no account extend the wrench, otherwise the cutter arbor will be stressed unduly.

Given anti-clockwise running of the spindle, the moments of inertia of the tool and the cutting forces exert a tightening effect on the cutter arbor nut.

After the cutter arbor nuts have been tightened the locating pin must be removed from the lower section of the milling spindle.

The drive motor can be seriously damaged if the machine is switched on whilst the spindle is arrested!

Why are cutter arbor spacers of differing thicknesses used to attach the tool?
_________________________________________________________________________
_________________________________________________________________________
_________________________________________________________________________

Why must a safety nut with left thread be used additionally on cutter arbors without top bearing tenons given clockwise roation of the machine?
_________________________________________________________________________
_________________________________________________________________________
_________________________________________________________________________

Drive

The drive motor is a pole-changeable three-phase synchronous motor. Its performance level is geared to the machine size. The motor can be switched to two varying speeds.

Motor speed 1 = 1450 min-1
Motor speed 2 = 2880 min-1

Thus, four spindle speeds can be set if the driving belt is selectively aligned to one of the two belt pulley pairs.

Switch position:


Figure

Rotational speed settings:

Pulley setting

Switch setting

Spindle rotational speed (min-1)

I

1

3000

I

2

6000

II

1

4500

II

2

9000

Provided the spindle rotational speed is properly selected, a favourable cutting speed conforming to the material being processed can be attained for each tool diameter.

Survey 1

Cutting speed in m · s-1
1 tool of quick cutting steel,
2 tool with hard metal cutters,
3 soft wood,
4 hard wood,
5 chipboard,
6 hard board,
7 plywood,
8 thermoplast,
9 phenoplast


Figure

The required spindle rotational speed can be determined from the formula

n = rotational speed of the machine spindles

min-1

v = cutting speed

m · s-1

p = constant = 3.14....


d = knife cutting circle

m

Example:

In order to mill a slot a cylindrical cutter with a knife cutting circle diameter of d = 125 mm tool steel shall be used. The workpiece is of soft wood.

According to data in survey I the lowest cutting speed for soft wood shall be v = 30 m · s-1. The required spindle rotational speed is unknown.

Solution:

given:

d = 125 mm = 0.125 m
v = 30 m · s-1
p = 3.14

unknown: = n

for 60 s = one min

n = 4585.99 min-1

Select a spindle rotational speed of 4500 min-1.

Guide rule

The guide rule ensures a sound support and accurate workpiece guidance in the tool working area. The guide rule distance to the cutter arbor can be adjusted on the table surface.

The two stop rules can be adjusted to one another and, thereby, make possible an alignment to the knife cutting circle of the utilised tool.

The distance between the knife cutting circle and the edges of the stop rule must not exceed 3 mm (see also Figure 14)


Figure 7 - Guide rule with adjusting device

1 rough setting, 2 fine setting, 3 arrest for rough and fine setting, 4 setting device for the stop rules

The guide rule features an attachment means for a chip exhaust device.

Additional stops, guidance facilities and labour safety devices can be attached to the stop faces.

For example: stop strips, stop block, spring-loaded comb and steel strip deflector. It is not permissible to utilise clamps with quick chucking mechanism or impact clamps to attach such items. Such clamps can loosen through vibrations thereby causing serious accidents.

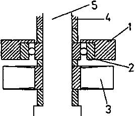
Warming up spacers can be employed instead of the guide rule when processing workpiece faces which are not straight. Such warming up spacers are mainly used for positioning to a model. By means of milling tools the workpiece can then be aligned to the model shape. Powerwise the warming up spacer has been decoupled from the cutter arbor.


Figure 8 - Cutter arbor with tool and warming up spacer

1 warming up spacer, 2 ball bearing, 3 tool, 4 cutter arbor spacer, 5 cutter arbor

The guide rule can be replaced by a stop board for undertaking deep cutting operations (slits).


Figure 9 - Stop board mounting

1 cutter arbor, 2 tool, 3 guard spacer, 4 stop board, 5 workpiece

When processing workpieces with unfavourable dimensions job safety can be increased by means of additional devices, for instance a guidance facility for offsetting when turning out a tenon.

Why should no clamps be used to attach additional stops to the guide rule?
_________________________________________________________________________
_________________________________________________________________________
_________________________________________________________________________

TO PREVIOUS SECTION OF BOOK TO NEXT SECTION OF BOOK