Back to Home Page of CD3WD Project or Back to list of CD3WD Publications

CLOSE THIS BOOKRipping and Mortising - Course: Manual woodworking techniques. Trainees' handbook of lessons (Institut für Berufliche Entwicklung, 21 p.)
VIEW THE DOCUMENT(introduction...)
VIEW THE DOCUMENT1. Purpose and Application of Mortising and Ripping
VIEW THE DOCUMENT2. Types, Construction and Mode of Action of Mortising and Ripping Tools
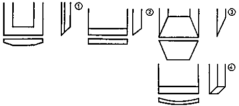
VIEW THE DOCUMENT3. Preparation for Mortising and Ripping
VIEW THE DOCUMENT4. Precutting of Recess Edges by Means of Ripping Tools
VIEW THE DOCUMENT5. Chiselling out Recesses
VIEW THE DOCUMENT6. Ripping of Faces, Edges and Corners

2. Types, Construction and Mode of Action of Mortising and Ripping Tools

For different tasks various mortising and ripping tools are applied. Main parts of these tools are:

- the steel blade and
- the haft fixed to it.

The single types mainly differ in the form and the sizes of the steel blade (see Fig. 1).


Figure 1 Shapes of steel blades for mortising and ripping tools

1 ripping chisel, 2 firmer chisel, 3 cross-cut chisel, 4 firmer gouge

Tabl. No. 1 represents the features and usability of mortising and ripping tools as shown in Fig. 1.

Table 1: Types of Mortising and Ripping Tools

Name, sizes of the blade

Features

Application

ripping chisel
- width 4 mm to 50 mm

the blade ist wider than thick, with side chamfer

- for precutting and chiseling out rectangular and acute-angled recesses for wood joints

- thickness 2.5 to 5 mm


- for recessing fittings
- for making recesses in surfaces
- for removing adherent material and glue residues

firmer chisel width 16 mm to 50 mm

the blade is wider than thick, without side chamfer

- for precutting and chiseling out right-angled recesses
- for recessing fittings
- for making recesses in surfaces

cross-cut chisel
- width 2 mm to 26 mm
- thickness 12 mm to 15 mm

the blade is mostly thicker than wide, with or without side chamfer

- for chiseling out mortises

firmer gouge
- width 6 mm to 50 mm

the blade is hollow

- for making round recesses

The parts of the mortising and ripping tools are:

- the blade
- the handle (haft)
- the shoulder (collar)
- the clamp (metal rings)
- the tang
- the button for beating
- the cutting edge


Figure 2 Parts of the mortising and ripping tools

1 blade, 2 haft, 3 shoulder (collar), 4 clamp (metal rings), 5 tang, 6 button for beating, 7 cutting edge

Being deeply inserted into the haft (above the shoulder) the tang ensures a firm connection between the blade and the grip. Blade and haft must form one common straight line (align). With not aligning tools you cannot hold the exact mortise direction.


Figure 3 Requirements on mortising tools

1 tool in working order, 2 tool out of order

The haft is made of hard wood. The metal rings on both ends of the haft secure the wood against splitting up.

The cutting edge of the steel blade has the basic form of a one-sided wedge. The best wedge angle is between 25° and 30°. With too obtuse-angled wedges the wedge resistance is too high, with too acute-angled wedges that of the body being worked is too high.

The wedge angle forming surfaces of the cutting edge are called:

- face
- flank


Figure 4 Cutting edge of the steel blade

1 wedge angle, 2 face, 3 flank

Because of the one-sided bevelled cutting edge the mortising tools can cut the wood with different effort in all directions. The blades of appropriate firmer chisels and mortise chisels are 4 mm to 50 mm wide. In order to prevent the blade from getting jammed the blade’s width must always be smaller than that of the aperture in the wood. Appropriate striking tools for mortising are:

- the round mallet
- the edged mallet
- the round hard rubber mallet


Figure 5 Striking tools

1 round mallet, 2 square hard wood hammer, 3 round hard rubber mallet

Inappropriate striking tools are:

- axes and hatchets
- metal hammers of all types.

Within a short time they will destroy the knob for beating the grip and thus increase the danger of accidents during work.

Select appropriate mortising tools for the following tasks:

a) Making recesses with an acute angle
__________________________________________________________________________
__________________________________________________________________________

b) Making mortises
__________________________________________________________________________
__________________________________________________________________________

Why is an axe or a metal hammer unsuitable as a striking tool for mortising?
__________________________________________________________________________
__________________________________________________________________________
__________________________________________________________________________

TO PREVIOUS SECTION OF BOOK TO NEXT SECTION OF BOOK