Back to Home Page of CD3WD Project or Back to list of CD3WD Publications

CLOSE THIS BOOKPartition Wall Making - Course: Timberwork techniques. Trainees' handbook of lessons (Institut für Berufliche Entwicklung, 19 p.)
VIEW THE DOCUMENT(introduction...)
VIEW THE DOCUMENT1. Necessity of Partition Walls
VIEW THE DOCUMENT2. Limitation of Rooms
VIEW THE DOCUMENT3. Surface Covering
VIEW THE DOCUMENT4. Framework of the Partition Wall
VIEW THE DOCUMENT5. Calculation of the Pitch Size
VIEW THE DOCUMENT6. Scribing of the Structural Components
VIEW THE DOCUMENT7. Erection of the Partition Wall
VIEW THE DOCUMENT8. Constructional Recommendations

4. Framework of the Partition Wall

The framework of the partition wall consists of the two runners with the mortised posts and their stiffening transoms. (See Fig. 12)

The width and thickness (d) of the runners and stiffening transoms must be suited to the posts.


Figure 9

1 foot runner, 2 post, 3 stiffening transom

Why must the width of the runners and transoms be suited to the posts?

______________________________________

The runner height (s) and the height of the stiffening transoms should be 50 mm.

The posts must be sufficiently dimensioned to resist any acting horizontal forces and existing vibrations.

The dimensions of the posts depend on the room height and are shown in table 1.

Table 1: Dimensions of the posts

Room height
H
mm

Wxreq
cm3

b

d

b

d

b

d

b

d

b

d

b

d



all sizes in mm

1750

33

25

85

30

80

35

75

40

70

45

65

50

60

2000

38

30

87

35

81

40

75

45

72

50

67

55

64

2250

43

40

80

45

76

50

72

55

68

60

66

65

63

2500

47

50

75

55

71

60

68

65

65

70

63

75

61

2750

52

50

78

55

75

60

72

65

69

70

66

75

64

3000

57

60

76

65

72

70

69

75

67

80

65

85

63

3250

61

65

75

70

72

75

69

80

67

85

65

90

63

3500

66

65

78

70

75

75

72

80

70

85

68

90

66

3750

71

70

78

75

75

80

73

85

71

90

69

95

67

4000

74

75

77

80

75

85

73

90

71

95

69

100

67

Dimensions refer to a load of 750 N in the centre of the room height


Figure

Horizontal forces may be produced in the event of accidental pushes against the wall or of collisions by objects falling off. The distances of the joint posts depend on whether the material used for the surface covering is directly fixed to the post or to additional rafters.


Figure 10

Fixing of the surface covering material

(1) surface covering material directly fixed to the post
(2) surface covering material fixed to additional rafters
1 foot runner, 2 post, 3 covering material, 4 fixing means, 5 additional rafters

If the surface covering material is directly fixed to the posts, the lengths of the material dictate the distances of the joint posts. With partition walls for rooms intended for housing purposes and where the joints are not subjected to further working, the distances of the joint posts should be symmetrical.

In such case the length of the covering material is to be shortened.


Figure 11

Symmetrical arrangement of the posts

1 wall post, 2 joint post, 3 post, 4 surface covering material, 3 shortening of surface covering material, 6 section

If the surface covering material is fixed to additional rafters, the distances of the joint posts do not matter. The symmetry of the covering can be ensured by the material used.

Irrespective of the dimensions shown in table 1, the joint posts should have a width of at least 80 mm.

Why should the joint posts have a width of at least 80 mm?

______________________________________

If possible, the posts between the joint posts should have equal distances so as to subject each post to equal load. Equidistant arrangement of the posts between the joint posts is all the more important if the fixing means (screws, nails) for the surface covering remain visible, otherwise the visible nail or wood screw heads would disturb the appearance of the surface covering.

The distance of the posts between the joint posts depends on the stability of the covering material. This also applies to the distance of the additional rafters.

The distance of the stiffening transoms should not exceed 1250 mm. If the height of partition walls requires several stiffening transoms, they should have equal distances.

If a door is necessary in the partition wall, it is to be included irrespective of the distribution of the posts.

For this purpose, a trimming is to be made to include the door post and door fixing post. The trimming also serves as door lintel transom.


Figure 12

Inclusion of the door in the partition wall

1 foot runner, 2 wall post, 3 head runner, 4 door post, 5 door fixing post, 6 door lintel transom, 7 stiffening transom, 8 post, 9 tail post

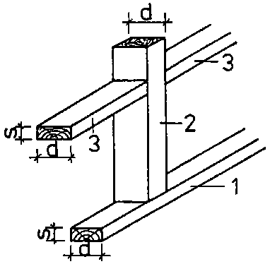
It may also be necessary to arrange a partition wall at right angles to the wooden beam framing.


Figure 13

1 wooden beam, 2 foot runner, 3 post

If partition walls meet at right angles to each other, a corner post and an additional post are necessary in the continuous partition wall.


Figure 14

1 foot runner, 2 head runner, 3 wall post, 4 joint post, 5 post, 6 additional post, 7 surface covering

The additional post is not taken into account when calculating the pitch size. It serves for holding the surface covering and must be offset accordingly. The corner posts and the additional post have the same dimensions as the corner posts.

TO PREVIOUS SECTION OF BOOK TO NEXT SECTION OF BOOK