Back to Home Page of CD3WD Project or Back to list of CD3WD Publications

CLOSE THIS BOOKThreaded Joints - Course: Techniques of fitting and assembling component parts to produce simple units. Trainees' handbook of lessons (Institut für Berufliche Entwicklung, 25 p.)
VIEW THE DOCUMENT(introduction...)
VIEW THE DOCUMENTPreliminary Remarks
VIEW THE DOCUMENTHints on Labour Safety
VIEW THE DOCUMENT1. Purpose of Threaded Joints
VIEW THE DOCUMENT2. Selected Types of Bolts and Screws
VIEW THE DOCUMENT3. Selected Types of Nuts
VIEW THE DOCUMENT4. Selected Types of Locking Devices for Bolts and Screws
VIEW THE DOCUMENT5. Selected Types of Washers
VIEW THE DOCUMENT6. Types of Threaded Joints
VIEW THE DOCUMENT7. Stresses in Threaded Joint
VIEW THE DOCUMENT8. Tools
VIEW THE DOCUMENT9. The Technological Steps of Making Threaded Joints
VIEW THE DOCUMENT10. Undoing Threaded Joints

7. Stresses in Threaded Joint

A threaded joint is formed when two parts, one with an internal thread and the other with an external thread of the same description are joined by turning them in opposite directions. A positive joint exists between the internal and the external thread, while friction produces a non-positive connection between thread flanks. The latter prevents an accidental loosening of the joint (i.e. it is self-retaining) when the pitch of thread is low.

Shallow pitch - more self-retention
Steep pitch - less self-retention

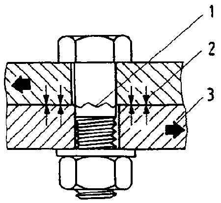
Indirect joints for fastening purposes are made by firmly pressing the component parts together. The intensity of pressure produces a non-positive joint between them. When the contact pressure is overcome by the service stress which acts laterally, the threaded bolt comes under shearing stress.


Figure 20. Shearing stress at a fastening screwed joint

1 shearing stress, 2 contact stress by prestressing, 3 laterally acting service stresses

When a joint for fastening purposes is tightened, the threaded bolt will expand and produce “pre-stressing”. The elasticity of the threaded bolt which counteracts the expansion, causes the bolt to press the component parts of the joint together tightly. When external (tensile or compressive) forces act along the longitudinal axis of a threaded joint, a “service stress” is produced in addition to the pre-stressing.

Tensile forces - act in the direction of the prestress and increase the stress in the bolt.

Compressive forces - act in the opposite direction of the prestress and lessen the stress in the bolt.


Figure 21. Tensile stress at a screwed joint for fastening

1 prestressing, 2 service tensile stress


Figure 22. Compressive stress at a screwed joint for fastening

1 prestressing, 2 service compressive stress

Note:

- The sum of service stress forces and prestressing forces must be higher than the maximum permissible tensile strength of a bolt. Otherwise the bolt will fail.

- Compressive service stress forces must never neutralize the prestressing force in a threaded bolt. Otherwise the threaded joint will come apart.

- A threaded bolt will be bent and eventually fail when the bearing face for the bolt head is not level. Remember: Bearing faces for bolt heads must always be level.

Identify the strain and stress of a thread for fastening purposes is exposed to.
______________________________
______________________________
______________________________

Name different types of stress in threaded joints.
______________________________
______________________________
______________________________

TO PREVIOUS SECTION OF BOOK TO NEXT SECTION OF BOOK