Back to Home Page of CD3WD Project or Back to list of CD3WD Publications

CLOSE THIS BOOKManual Working of Material/Metal - Course: Manual working of metal. Methodical course-guide for instructors (Institut für Berufliche Entwicklung, 218 p.)
Measuring and Testing
VIEW THE DOCUMENT1. Objectives and contents of practical vocational training in the working techniques of “Measuring and Testing”
2. Organizational preparation
VIEW THE DOCUMENT(introduction...)
VIEW THE DOCUMENT2.1. Preparation of instructions on labour safety
VIEW THE DOCUMENT2.2. Provision of teaching aids
VIEW THE DOCUMENT2.3. Provision of working tools and materials
VIEW THE DOCUMENT2.4. Time schedule
3. Recommendations for practical vocational training in the working techniques of “Measuring and Testing”
VIEW THE DOCUMENT(introduction...)
VIEW THE DOCUMENT3.1. Introductory instruction
VIEW THE DOCUMENT3.2. Exercises
VIEW THE DOCUMENT3.3. Examples for recapitulation and tests
4. Application of the working techniques of “Measuring and Testing”
VIEW THE DOCUMENT(introduction...)
VIEW THE DOCUMENT4.1. Instruction examples
VIEW THE DOCUMENT4.2. Criteria for practical training
VIEW THE DOCUMENT5. Captions and legends of the “Measuring and Testing” transparencies series

Manual Working of Material/Metal - Course: Manual working of metal. Methodical course-guide for instructors (Institut für Berufliche Entwicklung, 218 p.)

Measuring and Testing

1. Objectives and contents of practical vocational training in the working techniques of “Measuring and Testing”

By concluding their training the trainees shall have a good command of the working techniques of “Measuring and Testing”. Therefore, the following objectives are to be achieved:

Objectives

- knowledge of the purpose and application of the measuring and testing methods

- mastery of the various basic measuring and testing methods and capability of making decisions on quality independently,

- capability of selecting the proper measuring and testing tools and their proper use.

The following contents have to be imparted to the trainees:

Contents

- purpose of measuring and testing

- types and uses of measuring and testing tools

2. Organizational preparation

In order to guarantee a trouble-free development of instruction, exercises and teaching, it is necessary to prepare this training appropriately.

The following steps have to be taken:

2.1. Preparation of instructions on labour safety

Prior to the exercises, a brief instruction on the proper use of measuring and testing tools has to be given. This comprises hints for accident-free work.

The main emphasis is to be laid on:

- keeping the measuring and testing tools always separate from cutting/working tools;

- carrying measuring and testing tools in cases only and greasing them slightly with acid-free grease to protect them from rust;

- handling measuring and testing tools with care and not exposing them to the risks of shock and dropping.

Familiarity with these hints is to be confirmed by the trainees’ signature in a control book.

2.2. Provision of teaching aids

For demonstration purposes during instruction a soft support should be provided on a workbench.

The “Trainees’ Handbook of Lessons - Measuring and Testing” is to be handed out to the trainees.

When using the transparencies series of “Measuring and Testing”, check whether they are complete (transparencies 1.1. to 1.9.) and whether the overhead projector is functional. (Check the operating conditions at the place of use and make sure of the proper mains supply!)

Surveys etc. which are to be written on the blackboard have to be completed prior to instruction.

All the measuring and testing tools mentioned in section 3 should be kept ready for illustration purposes.

2.3. Provision of working tools and materials

Sufficient copies of the “Instruction Examples for Practical Vocational Training - Measuring and Testing” must be handed out to the trainees to provide them with the theoretical foundations for the exercises to be performed. The initial materials necessary for the exercises have to be prepared and laid out in a sufficient number of copies, according to the materials mentioned in the “Instruction Examples...”.

Each trainee is to be provided with a workbench with a soft support and appropriate lighting at his workplace. The trainees’ workplaces have to be fully equipped with measuring and testing tools according to the exercises planned. Do not forget to check this 1

Recommended basic equipment:

- steel rule, tape rule
- vernier caliper, depth gauge
- external micrometers, dial gauge with support
- protractor, universal bevel protractor
- calipers, thickness gauge, hole gauge, block gauges
- limit gauges
- straightedges, squares, angle gauges, radius gauges.

2.4. Time schedule

Time planning is recommended for the following training stages:

- introduction to the working techniques in the form of instructions
- necessary demonstrations
- job-related instructions to prepare the exercises
- performing the exercises
- recapitulations and tests.

The necessary time share depends on the respective training conditions. Most of the time is to be allocated to the exercises.

3. Recommendations for practical vocational training in the working techniques of “Measuring and Testing”

The following paragraphs comprise proposals on conducting trainee instruction, the demonstration of working techniques as well as exercises and tests. We recommend two course variants:

Variant No. 1

This variant is to be chosen for trainees with generally good achievements and receptiveness:

1.1. Introductory instruction for the whole subject with demonstrations based on the “Trainees’ Handbook of Lessons”.

1.2. Exercises in measuring and testing techniques from the “Instruction Examples 1.1. to 1.8.” and subsequent evaluation,

1.3. Final test of theory knowledge based on the contents of “Examples for Recapitulation and Tests”.

Variant No. 2

This variant is to be chosen for trainees with little previous knowledge or poor achievements:

2.1. Introductory instruction for the subject of “Measuring Tools” with demonstrations based on the “Trainees’ Handbook of Lessons”.

2.2. Exercises in measuring from the “Instruction Examples 1.1. to 1.3.” with subsequent evaluation.

2.3. Supplementary instruction for the subject of “Testing Tools” with demonstrations from the “Trainees’ Handbook of Lessons”.

2.4. Exercises in measuring and testing from the “Instruction Examples 1.4. to 1.8.” with subsequent evaluation.

2.5. Final test of theory knowledge based on the contents of “Examples for Recapitulation and Tests”.

Practical skills should be tested immediately after the evaluation tables contained in the working drawings have been handed in. Knowledge of theory should be constantly checked. However, it is recommended that a final test paper (point 1.3. or, resp., 2.5.) should be written after concluding the exercises.

3.1. Introductory instruction

If possible, this instruction should be given in a classroom. Ensure that the trainees put down necessary supplementary hints or answers to questions in their “Trainees’ Handbook of Lessons”. Instruction can be carried out on the basis of the main points contained in the “Trainees’ Handbook of Lessons”.

Purpose of measuring and testing

Instruction is to begin with clear-cut definitions of the terms and concepts. The trainees have to learn that there is a distinction between testing procedures with measuring tools (measuring) and testing procedures with testing tools (gauging). The following survey is to facilitate the classification of terms:


Figure

It must be made clear to the trainees that dimensions, shapes or surface finish have to be checked after every individual stage of work. The following principle must become their motto of work:

“Do your work as precisely as necessary and not as precisely as possible !”

Measuring tools

The most common types of measuring tools can be introduced according to the list of measuring tools contained in the “Trainees’ Handbook of Lessons”. This will be followed by defining their ranges of application and accuracy.

The envisaged order is as follows:

- steel measure, roller-type measuring tape (tape rule)
- vernier caliper
- depth gauge
- external micrometer
- dial gauge
- protractor
- universal bevel protractor.

When describing the first, simple measuring tools the instructor should explain to the trainees that there is a relation between the numerical value and the standardized measuring unit. Therefore, every trainee should have carried out the respective measuring operation at least once (such as the measuring of objects available in the classroom by using a steel rule). The trainees are taught how to read the measuring values correctly. This is to be practised, if necessary.

The transparencies 1.1. and 1.2. may be used to further clarify this subject.

Experience shows that trainees find it difficult to handle the vernier caliper at the beginning.

Transparency 1.3. should be used to demonstrate the procedure of reading measuring values at this device.


Figure 1.1

This transparency introduces some setting examples for recognizing the measuring values. The trainees have to put down the settings nos, two to five on a piece of paper and to check the results mutually by exchanging their papers.


Figure 1.2

This reading test can also be performed without using this transparency. Therefore, the trainee has to read measuring values on the vernier caliper adjusted by the instructor. The vernier caliper has to be given a fixed measure, the fixing screw is to be tightened, and the device is to be passed on to the group of trainees. Every trainee puts down the measured value so that it might be checked afterwards. The following measuring tools should not be introduced before having a good command of handling the vernier caliper.


Figure 1.3

Transparency no. 1.4. may be used, in addition to the original tools, to introduce the dial gauge and external micrometer precision measuring tools. Exercises in reading the measuring values on the external micrometer may be done similarly to that with the vernier caliper according to transparency no. 1.5. Reading the values on the original tool should also be practised with setting examples.


Figure 1.4

Using the dial gauge may be demonstrated as follows:

The dial gauge rests on its support - a square-shaped workpiece with parallel bottom and top surfaces is to be put under the tracer pin which is slightly thrown in. The dial gauge scale is adjusted to “Zero” and the limit pointers are set at 10/100 mm on the right and left side of “Zero”.


Figure 1.5

Now the workpiece is to be moved to and fro under the tracer pin. The trainees can be shown that the indicator position beyond the limit pointers means that the range of tolerance has been exceeded.

The trainees have to learn what the term “tolerance” means. It is to be made clear to the trainees that an indicator position within the range of tolerance means that the quality is still “good”.

When describing the instruments for angular measurement, special emphasis is to be laid on handling the universal bevel protractor, as it guarantees a universal use.

Transparency no. 1.6. can be used for further clarification. After these instructions, it is recommended that the topic of faulty measurements should be discussed.

If possible, the main causes of such faults should be stated clearly:

- fault with the measuring instrument
- fault due to incorrect handling/use
- fault caused by environmental circumstances.


Figure 1.6

These instructions must be followed by hints for the prevention of such faulty measurements.

Testing tools

The order of testing tools in the list contained in the “Trainees’ Handbook of Lessons” is to be followed when explaining the use of these testing tools. First you should deal with the size gauges and make clear how they differ from form gauges. The definition of the terms contained in the “Trainees’ Handbook of Lessons” may be used to explain this difference.

Transparency no. 1.7. can serve to illustrate size gauges


Figure 1.7

- caliper, thickness gauge, hole gauge. Limit gauges can be seen on transparency no. 1.8.

Design and use of limit gauges need detailed information. Experience shows that it is not easy to learn how to handle these size gauges.

The trainees have to be given some information on the designation of limit gauges, which is derived from standards.

The trainees will learn that this designation indicates the maximum and minimum values of a standardized range of tolerance.


Figure 1.8

Comments on the use of limit gauges should be made during demonstrations of prepared test specimens. Thus, the trainees will le arn the distinction between the “go” end and the “not go” end of the various kinds of limit gauges.

It should be emphasized that the distinction between maximum and minimum values falls within the range of several hundredths of millimeters.

The trainees must realize that testing with these testing tools has to be carried out sensitively and non-violently.

When introducing the form gauges the instructor has to mention the light-gap method. The trainee will learn that the form of the gauge serves to make decisions on quality by comparison.


Figure 1.9

These gauges should be introduced in the following order:

- straightedges (steel straightedge, bevelled steel straightedge)
- squares (flat, try and bevelled edge squares)
- angle gauges
- radius gauges.

Transparency no. 1.9. can supplement this instruction.

The trainees must learn to evaluate the surface qualities of the object (workpiece) to be tested (checked) by using the light-gap method. It is recommended to illustrate the handling of these testing tools by using test specimens prepared in advance,

3.2. Exercises

The degree of difficulty in these exercises is to be increased step by step beginning with the easiest measuring and testing techniques and ending with the more complicated methods. Instruments for rough measuring should be dealt with first. To practise these measuring and testing techniques any objects available may be used as measuring specimens. The trainees must know the objectives of the exercises and that the results of measurements are subject to evaluation.

A short practice of handling the instruments is followed by exercises from the “Instruction Examples for Practical Vocational Training”.

Each of the individual exercises must be preceded by a brief “job-related instruction” in order to show the trainees where the measuring and testing methods have to be applied on the chosen objects.

The instructor can mention the major points of evaluation as well as the problems involved.

During these lessons of special instruction the trainees have to place the sequences of operations and working drawings with the tables to be completed contained in the “Instruction Examples” on their desks so that they can make notes therein.

All the trainees can carry out these exercises simultaneously, if the appropriate number of measuring and testing tools is available.

This being the case, the trainees can do the necessary exercises by themselves without being pushed by time limits. If the required number of tools cannot be provided, the waiting trainees should do other jobs in the workshop. It is a good practice to roughly prepare the initial materials for the subsequent exercises, e.g. selection of materials, sawing and shearing to rough nominal sizes, derusting, deburring etc. These activities need supervision!

3.3. Examples for recapitulation and tests

This section contains questions which are to consolidate and test the acquired skills and knowledge. All the exercises are provided with the necessary answers.

Questions which are also contained in the “Trainees’ Handbook of Lessons”, are marked with the letter “A”.

1. What is the purpose of measuring and testing?
(To check dimensions, shape and surface finish of the workpiece during the manufacturing process and to compare the data with the manufacturing drawing.)

2. Which testing methods do you know?
“A” (Dimensional and non-dimensional testing methods.)

3. Which dimensional testing methods do you know?
(Testing with measuring tools and testing with testing tools (gauges).)

4. What is the difference between measuring and gauging?
“A” (Measuring serves to determine the exact sizes and dimensions; gauging serves to find out deviations from dimensions and shapes limited by a certain range of tolerance.)

5. Which measuring tools have a measuring accuracy of 1/10 millimeter?
“A” (Vernier caliper, depth gauge.)

6. Which measuring tools are used for precision measurements of 1/100 millimeter measuring accuracy?
“A” (External micrometer, internal micrometer, depth micrometer, dial gauge.)

7. How do the individual types of instruments for angular measurements differ?
“A” (Protractors with a range of 0 - 180 degrees for rough measurements; universal bevel protractors with a range of 0 - 360 degrees for precision measurements.)

8. Which measuring faults do you know?
(Faulty measuring instrument, faulty handling, environmental influences.)

9. How can we avoid faulty measuring?
“A” (Repeated measuring; use of faultless measuring instruments, proper handling of these instruments; provision of a clean and well-lit workbench; measuring under the same temperature conditions.)

10. What is the difference between measuring and testing tools?
“A” (Measuring tools are provided with scales to read the measuring value; testing tools do not have scales but only the designation of the measure.)

11. What are size gauges?
(Instruments to determine sizes or to check whether or not existing dimensions on an object are within the stipulated limits.)

12. What are the special features of limit gauges compared to simple size gauges?
“A” (They mostly comprise two size gauges for the maximum and minimum size and are used with standardized and very close ranges of tolerance.)

13. Which testing method is typical of using the cylindrical limit plug gauge?
“A” (The “go” end must fit easily into the true-to-size bore hole, the “not go” end must not.)

14. Which testing results do we obtain if we use limit screw plug gauges?
“A” (Result: “go” or “not go”, “go” does not say anything about external quality criteria.)

15. What are form gauges?
(Instruments to check flatness, angles and accuracy of radius.)

16. Which testing method is typical of form gauges?
“A” (Light-gap method - comparison of gauge and workpiece through light incidence; light incidence must be uniform.)

17. How do squares and angle gauges differ?
“A” (Squares are used to check the squareness of surfaces or edges/e.g. 90 degrees/; angle gauges are designed for specific angles/e.g. 55 degrees/.)

18. Which are the main principles to be observed when employing measuring and testing tools?
“A” (Keep measuring and testing tools separate from cutting or hand tools, place them on soft pads, protect them them shocks and dropping.)

4. Application of the working techniques of “Measuring and Testing”

The sequence of exercises can focus on one subject according to the variant mentioned in section 3 or it may be divided into several stages.

The “Instruction Examples for Practical Vocational Training -Measuring and Testing” provide 8 exercises, the degree of difficulty of which increases gradually. These “Instruction Examples...” comprise a list of materials required (initial material, measuring and testing tools, accessories) as well as the sequence of operations and an illustrative working drawing.

Thus, the trainees avail of the necessary information to begin their exercise-related work.

The selection of exercises takes into consideration that in the majority of cases there are no manufactured pieces of work available and that the acquisition of measuring and testing techniques will be the first activities at the beginning of the course for such trainees. That is the reason why we have chosen objects which usually are available at the workbench or in the workshop.

4.1. Instruction examples

What follows is a short description of the individual training examples in order to give a survey of those objects at which the prior knowledge is to be verified.

Instruction Example 1.1.

Try Square

This testing tool shall serve as an object for simple rough and precise linear measurements by means of the steel rule, vernier caliper, depth gauge as well as for flatness testing by means of the bevelled steel straightedge.


Figure

Instruction Example 1.2.

Vee

A vee which is often used in a workshop shall be tested by using the steel rule, caliper, depth gauge and protractor (rough and precise measurements). Bevelled steel straightedge and bevelled edge square shall be used to test the flatness and squareness of faces.


Figure

Instruction Example 1.3.

Tap Wrench

This device shall serve as an object to practise linear and angular measurements of a higher degree of difficulty. The exact measuring point will be determined by rough and precision measurements.


Figure

Instruction Example 1.4.

Outside Calipers

This device shall serve to practise simple linear measurements by rough and precision measurements as well as radius measurements of external and internal radii and angles. The light-gap method roust be fully mastered.


Figure

Instruction Example 1.5.

Vernier Caliper

This device shall serve as an object to practise linear and angular measurements as well as radius determinations with a high degree of difficulty. External micrometers for precision measuring will add to the degree of difficulty.


Figure

Instruction Example 1.6.

Hexagonal-Head Bolt and Nut

In addition to simple linear and angle measurements, the thread is to be determined by using a limit gauge in order to check whether the external and internal threads are true to size.


Figure

Instruction Example 1.7.

Block Gauge

Some block gauges are arranged side by side so that differences can be measured by using a dial gauge. The skill of handling external micrometers is to be consolidated.


Figure

Instruction Example 1.8.

Plain Pins

The external micrometer is used to determine the dimensions of diameters; limit snap gauges shall serve to check true-to-size dimensions and tolerances according to standard values.


Figure

4.2. Criteria for practical training

It is recommended to determine some major points of observation and evaluation when the work is being carried out. The following criteria may serve as a guideline:

- Does the trainee handle the measuring and testing tools with care or negligence?

- Does the trainee select the proper measuring tools?

- Are the surfaces to be measured and tested clean or does the trainee use the measuring/testing tool on surfaces which are not clean?

- Does the trainee read the correct measuring value or are there reading errors?

- Does the trainee employ the correct measuring force or does he cause damage by applying too much measuring force?

- Does the trainee use the “go” end and “not go” end of the limit gauges properly?

- Does the trainee put the form gauge on the surface properly or does he cant it?

- Does the trainee see the light gap and can be evaluate it?

5. Captions and legends of the “Measuring and Testing” transparencies series

Transparency No. 1.1.:

Application of the Steel Rule

Transparency No. 1.2.:

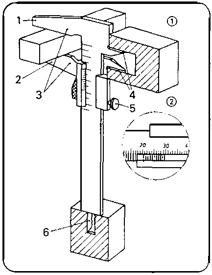
Design and Application of Vernier Caliper


(1) Vernier caliper



1 fixed jaw with measuring scale



2 sliding jaw with vernier



3 measuring jaw for external measurements



4 measuring jaw for internal measurements



5 clamping screw



6 depth gauge


(2) Vernier with a set measure of 20.8 mm

Transparency No. 1.3.:

Vernier Caliper Setting Examples


(1) Comparison of length of scale units and vernier units in millimeters


(2) Setting of 8 mm


(3) Setting of 0.4 mm


(4) Setting of 3.6 mm


(5) Setting of 1.7 mm

Transparency No. 1.4.:

Design and Application of Precision Measuring Tools


(1) Dial Gauge



1 dial gauge



2 tolerance pointer



3 millimeter indicator



4 0.01 millimeter indicator



5 tracer pin



6 workpiece



7 support


(2) External Micrometer



1 tracer screw



2 case



3 dial for 50/100 millimeter indication



4 dial for whole and half millimeters



5 clamping nut (locking)



6 sliding tracer pin (measuring screw)



7 fixed tracer pin (anvil)



8 frame

Transparency No. 1.5.

Setting Examples at the External Micrometer


(1) 8.27 mm setting


(2) 13.01 mm setting


(3) 8.77 mm setting


(4) 0.59 mm setting

Transparency No. 1.6.

Design and Application of Instruments for Angular Measurements


(1) Protractor (120 degrees’ setting)


(2) universal bevel protractor (150 degrees’ setting)



1 scale with 4 x 90 degrees’ division



2 vernier



3 locking knob for scale



4 locking knob for measuring jaw



5 adjustable measuring jaw



6 fixed measuring jaw (stop)

Transparency No. 1.7.

Application of Size Gauges


(1) Testing of a stepped groove by block gauges


(2) Testing of a narrow clearance by a thickness gauge


(3) Testing of a drill diameter by hole gauges

Transparency No. 1.8.

Application of Limit Gauges


(1) Testing of a true-to-size bore hole by a cylindrical limit plug gauge


(2) Limit screw plug gauge


(3) Testing a bolt by the ring thread gauge


(4) Testing a shaft diameter by the limit snap gauge

Transparency No. 1.9.

Application of Form Gauges


(1) Testing the flatness by the bevelled steel straightedge



1 flat surface



2 hollow surface



3 crowned surface


(2) Testing of squareness (90) by the bevelled edge square



1 exact angle



2 angle too small



3 angle too big

List of Captions

Figures 1 through 9 according to transparencies 1.1. through 1.9.
Figures 10 through 17 according to instruction examples 1.1. through 1.8.

TO PREVIOUS SECTION OF BOOK TO NEXT SECTION OF BOOK