Back to Home Page of CD3WD Project or Back to list of CD3WD Publications

CLOSE THIS BOOKMilling of Grooves, Elongated Slots and Break-throughs - Course: Techniques for machining of material. Trainees' handbook of lessons (Institut für Berufliche Entwicklung, 24 p.)
VIEW THE DOCUMENT(introduction...)
VIEW THE DOCUMENT1. Purpose and importance of milling grooves, elongated slots and break-throughs
VIEW THE DOCUMENT2. Kinds of milling tools to be used
VIEW THE DOCUMENT3. Preparation of milling grooves, elongated slots and break-throughs
VIEW THE DOCUMENT4. Milling of grooves
VIEW THE DOCUMENT5. Milling of elongated slots
VIEW THE DOCUMENT6. Milling of break-throughs

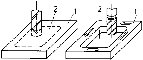
6. Milling of break-throughs

Break-throughs are through-milled openings in workpieces which may be of different geometrical shape and size. They may have a square or rectangular basic shape with smaller or larger radii at the "corners". Break-throughs are generally milled with relatively rough accuracy specifications, i.e. according to the corresponding application.


Figure 30 - Break-through

1 - workpiece
2 - break-through

For milling break-throughs it is necessary to predrill at a given point (end point) so that the cutting infeed movement can easily be carried out with a shank cutter.

If possible, for milling break-throughs the frame milling fixtures, usually used with column-and-knee type milling machines, are applied.

For a uniform machining surface the feed direction must be changed without stopping the feed.

For milling break-throughs the following milling machines are suited:

- vertical milling machines with frame milling fixture frame milling: change of the feed direction from

· X into Y-direction takes place without stopping the feed.
· X-direction corresponds to longitudinal feed.
· Y-direction corresponds to cross feed.


Figure 31 - Frame milling

1 - workpiece,
2 - break-through,
3 - directions of motion with frame milling

- horizontal milling machines with frame milling fixture:

· change of the feed direction from X into Z-direction
· X-direction corresponds to longitudinal feed.
· Z-direction corresponds to vertical feed.

The frame milling programme is set on the selector switch panel or the milling machine.

- Double-column piano-milling machines are used for workpieces which due to their size (dimensions) are not suited for being clamped on a column-and-knee type milling machine.

Setting up for and milling of break-throughs is carried out in the following sequence of operations:

- Check the functionality and operational safety of the milling machine to be used.

- Lay out the necessary workpiece clamping and tool clamping means as well as measuring and testing means.

- Fix, align and set the workpiece clamping means (mainly machine vice or direct clamping on the table), clamp the workpiece, fix or chuck the milling tool.

- Mount the coolant system and the cutter safety guard.

- Position the milling machine table and the frame milling fixture, set the cutting values.

- Scratch and set the length and width of the break-through (stops at machine table and saddle or at machine table and knee), rough-mill the break-through with small cutting depth (0.5 - 1.0 mm).

- Carry out visual examination and dimensional check and, if necessary, corrections. Finish milling the break-through. The cutting infeed is made at the predrilled point when shank cutters are used.

- Unclamp or remove the workpiece, deburr the cut edges and clean the workpiece. Make a visual inspection, dimensional check and surface examination according to the specifications. Profile gauges or the counterpart are recommended for dimensional check.

- Change the workpiece in accordance with the requirements stipulated for proper clamping and labour safety regulations.

- After having finished milling of break-throughs, clean the milling machine, ail tools and auxiliary equipment used and the whole workplace.

What advantage does frame milling offer?
________________________________________________________________________________________________________________________________________________________________________________________________________________________________________________

TO PREVIOUS SECTION OF BOOK