Back to Home Page of CD3WD Project or Back to list of CD3WD Publications

CLOSE THIS BOOKKnurling - Course: Techniques for machining of material. Trainees' handbook of lessons (Institut für Berufliche Entwicklung, 19 p.)
VIEW THE DOCUMENT(introduction...)
VIEW THE DOCUMENT1. Purpose and meaning of knurling
VIEW THE DOCUMENT2. Design and types of knurling tools
VIEW THE DOCUMENT3. Preparation of knurling
VIEW THE DOCUMENT4. Straight knurling of small widths on simple cylindrical parts
VIEW THE DOCUMENT5. Spiral knurling of small widths
VIEW THE DOCUMENT6. Cross knurling of small widths
VIEW THE DOCUMENT7. Straight knurling of convex parts
VIEW THE DOCUMENT8. Spiral knurling of big widths

8. Spiral knurling of big widths

With this technique attention is to be paid to the following:

- The workpiece is held in a chuck with live centre as counter-support.

- Depending on the state of machining of the parts, chucking is either in hard or in soft chuck jaws.

- The knurling wheels are fixed in the holder by unhardened steel pins.

- The knurling holder is to be clamped (approx. 1 mm) below centre and at right angle to the workpiece axis.

- The matching edge bearing of the tool must be properly located.

- By operating the cross-slide screw, the tool is pressed against the workpiece.

- The tool slide is laterally moved step by step or the longitudinal feed is used.

- The feed must comply with the spiral-knurling pitch to avoid overlapping.

- The tool must not be immediately applied to the full width.

- If possible, the knurling should be produced in one feed setting. For hard materials re-pressing will sometimes be necessary. In such cases the tool is not to be retracted but to continue in the same grooves to avoid overlapping.

- Basically the operation must not take longer than necessary since the cold forming process makes the material harder and more brittle.

- Good cooling and lubrication are to be ensured.

- The workpiece is to be chamfered after knurling.

- Measuring and testing is first by means of the vernier caliper, followed by visual inspection of the knurled portion.


Figure 20 Spiral knurling of long parts


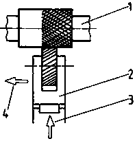
Figure 21 Spiral knurling of a wide portion with longitudinal feed

1 workpiece (long)
2 spiral knurling tool
3 pressing of tool
4 weed of tool


Figure 22 Tool not to be applied immediately to the full width

1 tool
2 workpiece

How are knurling tools constructed?
__________________________________________________________________________
__________________________________________________________________________
__________________________________________________________________________

Which types of knurling do you know?
__________________________________________________________________________
__________________________________________________________________________

Explain the process of spiral knurling of wide portions!
__________________________________________________________________________
__________________________________________________________________________
__________________________________________________________________________
__________________________________________________________________________
__________________________________________________________________________
__________________________________________________________________________
__________________________________________________________________________

TO PREVIOUS SECTION OF BOOK