Back to Home Page of CD3WD Project or Back to list of CD3WD Publications

CLOSE THIS BOOKCentring, Drilling and Counterboring / Countersinking - Course: Techniques for machining of material. Trainees' handbook of lessons (Institut für Berufliche Entwicklung, 22 p.)
VIEW THE DOCUMENT(introduction...)
VIEW THE DOCUMENT1. Purpose of centring, drilling and counterboring/countersinking
VIEW THE DOCUMENT2. Types and application of centring, drilling and counterboring/ countersinking tools
VIEW THE DOCUMENT3. Preparation of centring, drilling and counterboring/countersinking
VIEW THE DOCUMENT4. Centring with the centre square, centre bell and height gauge
VIEW THE DOCUMENT5. Centring with the centre drill
VIEW THE DOCUMENT6. Centring with the turning tool
VIEW THE DOCUMENT7. Drilling with the drill and boring with the boring tool (turning tool)
VIEW THE DOCUMENT8. Counterboring/countersinking with counterbore/countersink and turning tool

5. Centring with the centre drill

Machining of the workpiece by means of the centre drill is done on the lathe in the centre of rotation of the workpiece.

- Centring is done in a chuck using the drill chuck and the tailstock. The cutting tool to be used (centre drill) depends on the size specified, on the diameter, shape and weight of the part to be machined.

In addition to different sizes (diameter), centre holes differ in types, i. e. types A, B and C (Fig. 9 - 11 in section 2). The workpieces are machined at the end face and internal surface.

- Faulty centre holes (too big, too small, too flat, too steep, too short) are to be avoided. Safe clamping between centres or proper guidance of the tools in the centre hole would not be ensured in that case, which might result in an increased scrap rate.

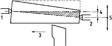
- The tailstock is to be checked for central position and, if necessary, to be aligned as per Fig. 23 so as to ensure centring of the centre position of the workpiece with the centre drill chucked. For this purpose the tailstock can be adjusted to either side. Height correction is not possible.


Figure 23 Possibility of tailstock adjustment

1 work spindle end,
2 tailstock end,
3 positive guidance of the turning tool,
4 tailstock adjustment,
5 possibility of correction

- When centring with the centre drill, high rotational speeds are used since V (cutting speed) is almost 0. The workpiece and the cutting tool must be firmly chucked to avoid accidents and tool breakage.

- The work feed is manually operated and should be even and smooth.

- The application of coolant will increase the life of the cutting tools.

- The contact faces of the tailstock must be lubricated. The tailstock must be fixed, otherwise it will be displaced during the operation.

- The centring operation with the centre drill is shown in Fig. 2 (in section 1).

What types of centre holes do you know?
1. _______________________________________
2. _______________________________________
3. _______________________________________

What kinds of faulty centre holes may occur?
1. _______________________________________
2. _______________________________________
3. _______________________________________
4. _______________________________________
5. _______________________________________

TO PREVIOUS SECTION OF BOOK TO NEXT SECTION OF BOOK