Back to Home Page of CD3WD Project or Back to list of CD3WD Publications

CLOSE THIS BOOKAmplifier Teaching Aid (DED Philippinen, 86 p.)
Lesson 10 - Large Signal Amplifier
Lesson Plan
VIEW THE DOCUMENT(introduction...)
VIEW THE DOCUMENTLarge signal amplifier
VIEW THE DOCUMENTClasses
VIEW THE DOCUMENTClass A power amplifier
VIEW THE DOCUMENTClass B power amplifier
VIEW THE DOCUMENTClass AB power amplifier
VIEW THE DOCUMENTWorksheet No. 10

Amplifier Teaching Aid (DED Philippinen, 86 p.)

Lesson 10 - Large Signal Amplifier

Lesson Plan

Title: Large Signal Amplifier

Objectives:

- Understand the importance of amplifier efficiency
- Know the most common classes of power amplifier and their basic characteristics


Figure

Large signal amplifier

The early stages of amplifier systems are dealing with small signals. These stages are designed to give good voltage gain. Small signal transistors have a power rating of less than half a watt and power transistors have a power rating of more than half a watt.

The later stages of an amplifier system have much larger collector currents, because the load impedances are much smaller (i.e.: Loudspeaker 1W, 4W, 8W, 16W).

Efficiency is most important when large amounts of signal power are required:

Classes

This refers to how the amplifying device is biased. Amplifier can be biased for class A, B or AB operation.

Class A power amplifier

The amplifiers we have discussed have been class A amplifiers. Class A amplifier operate in the center of the load line. This gives the best possible output swing without clipping.

Efficiency: low, maximum 50%

Even when no signal is applied, a high current is flowing (100 mA) and there is a power dissipation in the load.

Distortion: low

Applications: Few audio amplifier (high quality)


Fig. 10-1: Class A amplifier

Class B power amplifier

The class B amplifier is biased at cutoff. No current will flow until an input signal provides the bias to turn on the amplifier.


Fig. 10-2: Q point of a class B amplifier

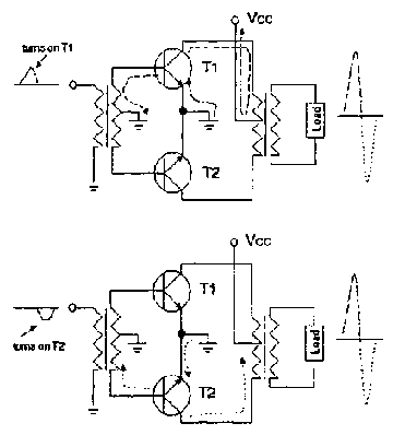
Only one half of the input signal is amplified. Two transistors can be operate in class B together in one circuit, one transistor for the positive portion of the signal and one transistor for the negative portion of the signal (Push Pull):


Fig. 10-3: Push Pull amplifier


Fig. 10-4: Signal swing of a. push pull amplifier, Class B operation

Problem: Crossover distortion, the emitter diode takes 0,7V to turn on.


Fig. 10-5: Crossover distortion

Efficiency: 78.5%

Distortion: High

Application: High power stages, not used in audio applications.

Class AB power amplifier

Solution to the crossover distortion:

Provide some forward bias for the base emitter junction.


Fig. 10-6: Class AB amplifier


Fig. 10-7: Complementary push pull amplifier

Two complementary transistors are used (NPN + PNP) , so no transformer is needed any more.

Efficiency: between A and B

Distortion: Moderate

Application: High power stages in audio and radio-frequency applications.

Worksheet No. 10

No. 1 Explain the difference between class A and class B power operation.

No. 2 Draw a circuit of a complementary push pull amplifier.

No. 3 Why is the efficiency of a class A power amplifier so low?

No. 4 In the graph below you see the Q points of different power amplifiers. Which Q point belongs to which type of power amplifier?

Label the graph!


Figure

TO PREVIOUS SECTION OF BOOK TO NEXT SECTION OF BOOK