Back to Home Page of CD3WD Project or Back to list of CD3WD Publications

CLOSE THIS BOOKSwitchgear - Basic vocational knowledge (Institut für Berufliche Entwicklung, 54 p.)
2. Important components of switches
VIEW THE DOCUMENT2.1. Switching contacts
VIEW THE DOCUMENT2.2. Arcs
VIEW THE DOCUMENT2.3. Switch mechanisms

Switchgear - Basic vocational knowledge (Institut für Berufliche Entwicklung, 54 p.)

2. Important components of switches

2.1. Switching contacts

Definition

The electric contact is a disconnectable connection between two conductors suitable for carrying a current.

Contact fault

Contact faults cause great contact transition resistances, and it is difficult or impossible that the contacts open.

Cold welding

Adhesion between contact pieces by cohesion of metal ions.

Hot welding

Great plastic deformation of contacts by Joule heat.

Fusion welding

Melting of the contact material due to excessive heating up (arcs, short-circuit currents). The adhesion resulting during cold and hot welding is overcome by corresponding switching forces. In case of fusion welding it is not possible any more to open the switch, and thus the switch cannot perform its function any more.

Contact arrangements

Survey 1

Contact arrangements

Contact arrangements

Examples of application

Construction

Advantages and disadvantages

Single break

ES contactors Relays


Connection of a fixed and a movable contact member

Small contact opening, difficult to extinguish arc

Double break

Gang switches Contactors Low-voltage circuit breakers On-load switches


Connection of two fixed contact members by a contact bridge

Arc extinction is made easier since two partial arcs are drawn on which half of the voltage is applied

Parallel connection of contacts

Low-voltage circuit breakers


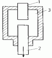
Functional principle: During the opening sequence first of all the main contact (1) is opened. The current continues flowing via the arcing contact (2). When the working contact is actuated, an arc is drawn on the working contact. During the closing sequence the working contact is closed first of all. 1 main contact 2 arcing contact

During the opening and closing sequences the main contact remains arc-free. Surface quality (silver/silver alloy) is maintained. Contact resistance is kept low. Arcing contacts can be easily replaced when worn (burn-up).

2.2. Arcs

When opening a switch, an arc is generated between the contact members. At low switching capacity this phenomenon is called switching spark, at high switching capacity it is called arc. The conductivity of the arc greatly increases with increasing temperature.

Quenching of the arc (lengthening of the arc)

An intensive cooling of the arc by gas or oil results in the quenching of the arc. By decreasing the temperature the arc current becomes less and the cross-section of the arc is reduced. For medium-voltage and high-voltage a.c. switches a lengthening of the arc is not recommended. When quenching the arc, the property of the latter is used that due to the zero passages of the alternating current at a frequency for example of 50 Hz, the arc is quenched one hundred times per second and ignited again the same number of times.

Arc facilities

It is the task of the arc facilities to cool the arc or to increase pressure and to make sure that after natural quenching the arc does not ignite again.

Survey 2 Arc quenching facilities

Quenching possibilities

Examples of application

Construction

Functional principle

Natural arc extinction

Low-voltage circuit breakers

Due to the thermal lifting power of the heated-up gas column the arc is lengthened. Electromagnetic forces between the two arc branches support lengthening.

Lengthening and cooling of the arc through the shape of the quenching chamber

Contactors ES contactors

When the arc cones into contact with the quenching chamber, heat extraction takes place. Due to the incorporation of webs, partial chambers are created in which a fireplace effect occurs. In the meander chamber the arc is lengthened greatly.

Deion chamber

Low-voltage circuit breakers

Copper-plated iron sheet metal plates divide the complete arc into partial arcs. Partial arc voltages are reduced below 30 V. At the same time heat is extracted from the plates, and thus the arc extinguishes.

Magnetic blowing

ES contactors

The current to be interrupted flows through the blowout coil (1). The magnetic field generated is transmitted to blow-out plates (2) arranged at the sides of the quenching chamber. The arc burns in the magnetic field between the two plates so that an electric force (3) acts on it. Thus the arc is moved upwards, that means, it is lengh-tened and cooled. (4) Direction of current

Vacuum chamber

Vacuum contactors (EVS)

Contact-break distance is in the vacuum. Atoms from the air are missing for ionisation. The arc burns only for a short time in the metal vapour of the switching contacts. The metal vapour moves quickly out of the contact-break distance.

1 fixed contact member, 2 movable contact member, 3 vacuum chamber

2.3. Switch mechanisms

They change the switching position of switches (CLOSED-OPEN). For this purpose a force is required. In accordance with the type of force generation the mechanisms are classified in:

- manually-operated mechanisms
- solenoid-operated mechanism
- motor-operated mechanism, and
- pneumatic-operated mechanism.

Manually-operated mechanism

Actuation elements are knob, pushbutton or lever. Rated currents up to approximately 100 A can be switched by means of these mechanisms. The manually-operated mechanism is the cheapest mechanism. Examples for these mechanisms are installation switches, gang switches, pushbutton switches.

Solenoid-operated mechanism

By switching on a control current an electromagnet is excited. The armature of a magnet actuates the contact members. Examples for solenoid-operated mechanisms are contactors, relays, installation remote switches.

Motor-operated mechanism

The motor either drives the interrupter shaft via a gear or the motor acts on a spring energy store. As far as the motor-operated mechanism with spring energy store is concerned, simultaneously with the closing operation a disconnection spring is tensioned and latched. When the spring is unlatched, it opens the contact members independently of the motor.

Pneumatic-operated mechanism

By means of 15 to 20 MPa compressed air the contact members are actuated via pressure piston and linkage mechanism.

This type of mechanism is mostly used for high-voltage circuit breakers.

Survey 3 Summary of the most common switch mechanisms

S Mechanisms

Examples of application

Functional principle

Advantages and disadvantages

Manually-operated mechanism Pushbutton and lever-operated mechanism Stirrup-operated mechanism

Low-voltage circuit breaker Load-break switch Isolating switch Earthing switch Power circuit breaker up to 30 kV


The actuation element is attached directly to the interruptor shaft. The switch linkage transmits the switching force from the front side of the cell to the switch fastened on the rear.

Favourable as to costs, no high switching frequency. At rated currents above 100 A escessive switching forces required

Manually operated mechanism by means of a twist knob

Multisection cam-operated switch


The switch lever is arranged directly on the camshaft

Simple design, un-objectionable switching of high currents at a speed almost independent of the operator

Snap-action connection (toggle latching mechanism)

El circuit breaker


From a certain switch ing angle onwards the opening and closing sequences are taken over by incorporated springs. 1 release force, 2 manual force

Unobjectionable switching of high currents at a speed independent of the operator

Solenoid-opera ted mechanism

Contactors r Relays


1 excitation coil, 2 spacing between armature and magnet 3 lifting limits, 4 return spring. 5 armature, 6 magnet

Relatively high power consumption by the switching magnet. A high making current can load the network.,

Motor-operated mechanism

El circuit breakers SCI circuit breakers

The interruptor shaft is driven directly by a motor via a worm gearing and an excentric. When an energy store is used, the motor tensions the closing spring. By unlatching this spring the switch is closed and the opening spring is pretensioned. During the opening sequence the closing spring is preten-sioned.

Compared with the solenoid-opera ted mechanism, the motor-operated mechanism is more economical for high rated currents

Pneumatic-operated mechanism and D3AF

Isolating switches Circuit breakers of types DCI


1 spring, 2 piston, 3 compressed-air, 4 interruptor shaft

Remote control possible. Simpler design compared with electric-operated mechanisms. Higher switching speed and smoother switching

TO PREVIOUS SECTION OF BOOK TO NEXT SECTION OF BOOK