Back to Home Page of CD3WD Project or Back to list of CD3WD Publications

CLOSE THIS BOOKPermanent Farming Systems Based on Animal Traction: Farmers Handbook (GTZ, 1995, 183 p.)
PART III: Draft animal implements
VIEW THE DOCUMENT(introduction...)
VIEW THE DOCUMENT3.1 Cattle harness
VIEW THE DOCUMENT3.2 Donkey harness
VIEW THE DOCUMENT3.3 The plow
VIEW THE DOCUMENT3.4 THE HARROW
VIEW THE DOCUMENT3.5 The ridger
VIEW THE DOCUMENT3.6 The tine-weeder/hoe
VIEW THE DOCUMENT3.7 The cart
VIEW THE DOCUMENT3.8 The roller cutter
VIEW THE DOCUMENT3.9 The seed planter

Permanent Farming Systems Based on Animal Traction: Farmers Handbook (GTZ, 1995, 183 p.)

PART III: Draft animal implements


Figure

The farm implements help you to transform the power of your draft animals into work effort in the farm. Without proper tools, no efficient work.

The oxen farmer needs different tools for the different working operations. All working tools like prow, harrow, ridger and cart, etc., are attached to the draft animals by means of the harness.

Harness, we call that part of the equipment which is put on the animal. All other farm implements are attached to the harness. The harness allows us also to control the draft animals.

3.1 Cattle harness

The oxen harness consists of the following parts

- halter chain or nasal ring
- yoke
- head joint rope
- steering rope

3.1.1 Halter Chain or Nasal Ring

To tie the head joint and the steering ropes to the oxen, there are two systems:


Fig. 3.1: The Nasal Ring, made of steel and applied by the veterinary staff to the nose of the ox, is very effective. Oxen can be trained faster and are easier to control.

The Halter Chain, made of a chain and attached to the head of the ox. is less effective. Oxen are more difficult to train and to control with this system.

Adjust your Halter Chain correctly to the animals to avoid wounds at the eyes, muzzle or mouth.


Fig. 3.2: Correct adjustment of the halter chain

3.1.2 Head Joint and Steering Ropes

The head joint and steering ropes are attached to the halter chain or nasal ring to control the oxen. The steering rope is 12 mm thick and 20 m long, head joint rope is 6 mm thick and 2 m long.


Fig. 3.3: The Head Joint joins the two animals and the Steering Rope leads round their rears to the driver.

Avoid wrong adjustment of the head joint.


Fig. 3.4: No! The head joint is too long.


Fig. 3.5: Yes! Head Joint and Steering Rope are correct.


Fig. 3.6: No! The head joint is too short.

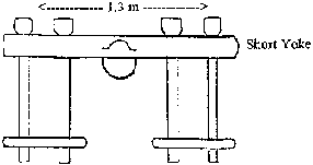
3.1.3 The Yoke

The yoke connects the two oxen. All traction implements are attached to the yoke by the pulling chain (prow, ridger, harrow) or the beam ( cart, roller cutter).

The yoke consists of the yoke beam, the yoke pegs and the peg beam.

You have two kinds of yokes:

-The short yoke with a length of about 1.3 m, used for plowing, harrowing, transport, clearing.


Fig:3.7: Use the short yoke for plowing and weeding rice and wheat (40 cm rows)

-The long yoke with a length of about 1.7 m and adjustable to different working distances, used mainly for ridging, weeding and moulding.


Fig. 3.8: Use the long yoke for ridging, weeding and moulding

Weeding/Ridging: Use the maximum distance between the oxen. Leave central holes of the yoke free (80 cm ridges).

Plowing: Reduce the distance between the oxen by changing the pegs Weeding: of 60 cm ridges

3.1.4 The Pulling Chain

The pulling chain connects the implements with the harness. It is 3 m long and can be adjusted to different lengths.

3.1.5 Maintenance of the Harness

The Harness is made of wood. Wood is easily destroyed by water.
A harness that is stored in a dry place like the cowshed can stay for 10 years.
If you expose your harness to rain and sun, it will rot and break after 1 year.
Proper storage of your harness will save you money.

3.2 Donkey harness

As for cattle, donkey harness is worn by the animals for the purposes of pulling implements or carrying loads and to control animals at work.

3.2.1 Leading and driving harness

Controlling a donkey's head is the best way to control a donkey's movements. When leading a donkey, it is necessary to keep its head well above the ground to prevent it from eating and to keep it going in the wanted direction. A rope attached to the donkey's head is necessary to achieve this.

3.2.1.1 Headrope and Halter

A headrope is very easy to make quickly and to slip on to the donkey. It is also easy to keep it in the pocket when it is not being used. Because the headrope is made of rope which can rub the skin, this should be for temporary use only.


Fig. 3.9: How to make and fit a headrope

A halter should be made of leather or strong webbing - in any case some flat material so that a brow-band can be included, and even a throatlash, which prevent the donkey from rubbing the halter off.

The halter also has the advantage of having strong metal rings by the donkey's mouth to which a lead rope or reins for driving can be attached.


Fig. 3.10: Parts and correct fit of a donkey halter

3.2.1.2 Bridle and Bit

For control from behind, the donkey's mouth is used. For this purpose a bit, a round piece of metal is inserted in the donkey's mouth. In many countries pony bridles (see Fig. 3.11 ) are sold which will fit donkeys, and also pony bits


Fig. 3.11: The bridle and how to fit it correctly on the donkey's head, with a commercial bit and one made in a local workshop.

The bit must be buckled to the bridle by its rings. For each donkey, the cheekstraps of the bridle should be adjusted so that the bit fits snugly but not painfully at the top of the mouth, and the donkey cannot move it with its tongue. Inserting the bit into the donkey's mouth and fitting the bridle over its ears are all part of one smooth operation.

3.2.1.3 Reins (Steering rope)

The driver or rider is connected to the bridle and bit (or halter) through the reins or steering rope, which attach to the rings of the bit (or halter) on each side of the head. A strong leather strap is softer to human hands than a rope.

3.2.2 Pulling Harness

Pulling implements and carts are the main tasks of working donkeys. For draft work, therefore, a suitable harness is most important. A yoke is not suitable for donkeys, not only because it does not reach the shoulder where the donkey's horizontal force is exercised, but the donkey has no muscles to form a cushion at the withers like an ox and thus withstand the damage that a yoke can do. For draft work, therefore the donkey must be harnessed round the neck. There are two types of harness suitable for donkeys: The breastband and the collar harness.

3.2.2.1 Breastband


Fig. 3.12: The breastband is a simple and cheap design, which is usually made of thick rubber, old tyres, canvas belting, transmission belt or similar strong but flexible materials, joined together with bolts or rivets.

The breastband has the disadvantage of not only pulling on the shoulders, but also on the chest which may obstruct the donkey's breathing. Also, since the fitting is not very adjustable, this harness is often too loose on the donkeys, causing rubbing and wounds. In order to make the breastband more comfortable, the sharp edges of the belting have to be filed down and the heads of the bolts or rivets inside the harness have to fit smoothly into the belt material.

3.2.2.2 Collar harness


Fig. 3.13: The Collar Harness can be fitted exactly to the donkey's shoulders, and is adjustable for the donkey's comfort. Also it does not interfere with the donkey's windpipe so that it can breathe freely.

The collar harness is more comfortable, but it is more complex in design than the breastband, yet it can be made of materials that are easy to find in rural areas, such as wood, cloth, leather, some nails, stuffing for the cushions - best material for this being the tail brush of cattle or even the donkeys themselves. Anybody with reasonable craft competence can make a collar harness if provided with the design.

3.2.2.3 Saddle and girth

A saddle over the donkey's back is necessary to take the vertical force or weight. Since the force is not very great, the saddle need be no more than a wide, strong strap, sometimes over padding. If the breastband is used, the saddle is included in the design..


Fig. 3.14: The saddle takes the vertical force on the donkey's back

A collar harness does not provide for the vertical force, so if a collar is used, the saddle has to be provided separately - but then it can have the advantage of being made more stable with a girth or bellyband under the donkey's belly. The girth also, should be a wide, soft strap which is adjustable to make the whole apparatus tight. The shafts of a cart should be attached to the saddle for the balance of the weight.

3.2.2.4 Breeching


Fig. 3.15: Breeching acts as a brake when the donkey is pulling a cart.

Breeching is required when a cart is being used, as it acts as a brake, taking the force which is parallel to the ground when the cart is going downhill, when the weight of the cart becomes part of that force.

The breeching strap is a wide strap of the same materials as the breastband that passes under the tail of the donkey. In the correct position the breeching strap does neither interfere with the donkey defecating nor with the movement of the legs.

When connected to the other parts of the harness, the breeching strap should be fitted snugly to the donkeys skin, it should never be loose to rub the donkey's skin. So as not to cut the donkey's skin, it must be wide and soft as well as strong.

3.2.2.5 Swingles, Eveners and Traces

The swingle allows the pulling harness to follow the donkey's uneven movements when walking, as it moves one leg after another.

The evener has a similar function like the swingle, only it compensates the uneven movements and pull where more than one donkey is pulling a load. The evener allows the animals at work more freedom to move and it can compensate for uneven pull if the animals are not equally strong by attaching the implement nearer to the stronger animal.

Both, swingle and evener are made of good, hard wood, which is both light and strong. Any farmer can easily make them.

They should not be thicker than a childs wrist
They should be long enough so that the traces through which the animal is pulling, are held clear of the animal's belly and legs as it moves.


Fig. 3.16: Swingles and evener for two animals seen from above

The traces are the lines that transmit the pull from the breastband or collar to the cart or implement itself. Because of the strain they take, traces need to be strong and chains are often therefore used. At the correct length the traces can't get entangled with the legs of the animals.


Fig. 3.17: Swingles, evener and traces in use with two donkeys pulling a plow.

3.2.3 Equipment for Carrying

The main requirements for carrying equipment are that it should be:

-able to keep the weight off the donkey's spine;

-able to distribute the weight of the load onto the upper part of the donkey's ribs and close to the centre of gravity

-light, so that it adds as little as possible to the load

-of strong materials, to withstand being pulled against rocks and branches and thorns in narrow places;

-well-balanced, to ensure that the load is divided equally on both sides of the donkey's back;

-secure against sliding backwards or forwards when the donkey is climbing or descending slopes;

-not able to rub or cut the donkey;
-able to carry the correct weight;

-able to be tightly Packed, so that the load does not project too far from the donkey, and lies flat down its sides;

-reasonably high above the ground, so it is not encountered by the donkey's moving feet;
-far enough away back and front from the donkey's moving legs;
-possible to offload from the donkey within seconds in the event of an emergency

As a general rule, a folded blanket should come between the donkey's back and anything it carries, to prevent rubbing and catching of hairs. It will also absorb the donkey's sweat and the dust from its back. Being separate, it can easily be washed and cleaned.

3.2.3.1 Bags and Soggies

Bags can be home made out of strong material such as canvas, they can easily be made and repaired.


Fig. 3.18: A saddle bag with straps fastened under the chest, the tail and the belly of the donkey

Disadvantages of bags are:

-they are connected, so must be lifted together on and off the donkey
-too much of the weight might be taken directly by the donkey's spine.

Straps under the donkey's chest, under its tail and under its belly should all have their fastenings close to one of the bees on the same side (traditionally on the left hand side) of the donkey, so that they can be undone without the need too move around the donkey.


Fig. 3.19: The soggie is a kind of bag woven of rushes, grass or palm leaves.

The soggie is really just another kind of bag which is widely used in East Africa, and has been found to be one of the best ways of loading a donkey. It has no straps to secure it, but nonetheless seems not to move once it is loaded. The soggie is usually woven out of strong and long lasting materials like rushes, but can equally well be made from grasses or palm leaves, and any competent basket weaver is able to make one.

3.2.3.2 Sawbuck Saddle and Pannier


Fig. 3.20: The sawbuck saddle is used in many parts of the world and it can easily be made by a carpenter or wood carver.

A sawbuck has the advantage that it is suited to many types of load, even those of awkward shape, and one half of the load at a time can be lifted on or off the donkey. Another advantage is that it serves to transfer the weight of the load from the donkey's spine to its ribs. Lashing is the safest way of attaching any load to the sawbuck saddle.

A pannier is a more rigid container than a bag or soggie, so that it incurs less risk of poor packing and shape to the load. Also it can be made of a stronger material, such as bamboo or reed basketwork, or even a light metal.

Panniers can be separate and so designed that they hook onto a sawbuck saddle, or they can be joined in such a way that they form a saddle of their own. Being rigid, this saddle can be shared so that the weight of the load is not taken by the donkey's spine, but its ribs. It should also be cushioned so there is no risk of any part of it digging into the donkey.

The safest way of tying loads to donkeys is shown in Figure 3.21, it is called lashing. This method of fastening a load has the advantages of:

-the load being secure at all points where gravity may cause it to slip
-in an emergency, the load may be released within seconds and removed from the donkey.


Fig. 3.2 1: Lashing, a safe method of tying loads carried by donkeys.

3.3 The plow

3.3.1 Why plow?

Plowing is a method of cultivating whose main purpose is to loosen the surface laver of the soil in which seed will be sown later. This loosening is achieved by turning over the furrow slice, thus exposing it to air, rain and sun.

Plowing is carried out for the following reasons:

-to take virgin land into cultivation
-to soften the soil for the establishment of the seedbed (ridges) .
-to uproot weeds


Fig. 3.22: The furrow slice is cut by the courter and by the share and turned over by the mouldboard.

3.3.2 Parts of the Plow and their Function

The plow is the tool for the draft animal farmer to dig up the soil. It is made up of the following parts.

-The share, is one of the main parts of the prow. It cuts the slice of the earth horizontally and starts turning it over.

-The courter is a steel cutting blade which cuts the soil vertically along the furrow wall. The shaft of the courter is attached to the beam. The cutting edge of the courter is not exactly on the axis of the forward movement of the plow. It is turned slightly towards the furrow wall thus helping to keep the plow in the furrow. The courter must always be kept sharp.

-The mouldboard is the other main part of the plow which turns over the earth previously cut by the courter and the share. It is an extension of the share to the rear.
-The beam is the main frame of the plow to which all the other parts are attached, directly or indirectly.
-The stay is a part of the rear end of the beam to which are attached the main parts of every prow.
-The frog is the part attached to the lower part of the stay. Its front part is called the Sole Plate. It is to the frog that the mouldboard and the share are attached. It's rear end is the heel piece.
-The landside is another wearing part bolted to the frog. Its purpose is to prevent wear of the frog and of the stay, as a result of friction along the furrow wall.

-The handles enable the plowman to control the plow when working.


Fig. 3.22: Parts of the Plow Body which are fast wearing


Fig. 3.23: All parts of the animal-drawn plow

3.3.3 Working Adjustment of the Plow

For good and easy plowing, it is important that the adjustments of your plow be correct.
The working adjustment of the plow can be done with:

-the pulling chain
-the vertical adjustment control .
-the horizontal adjustment control

Problems

1. Plow not running upright, tips to the unplowed soil.

Solutions
Decrease length of pulling chain, lower hitching point of chain.


Figure

2. Plow not running upright, tips to the plowed soil

Solutions
Reduce length of the chain or raise hitching point of chain.


Figure

3. Landside is pressing on the ground, wheel is above ground

Solutions
Reduce length of the chain or raise hitching point of chain.


Figure

4. Landside is not touching the ground operator has to press down the handles

Solutions
Lower hitching point of the chain, reduce length of pulling chain


Figure

5. Plow is working too shallow not digging deep enough

Solutions
Raise hitching point of chain, extend length of pulling chain, reduce wheel standard


Figure

6. Plow is working too deep

Solutions
Lower hitching point of chain, reduce length of pulling chain, extend wheel standard


Figure

7. Working width is too small

Solutions
Shift chain to the end of chain adjuster where land is already plowed


Figure

8. Working width is too wide

Solutions
Shift chain to the end of chain adjuster where land is not plowed


Figure


Fig. 3.24: Do not work until your plow adjustment is correct!

3.3.4 When to plow

If your soil is not hard, you start plowing during the dry season so that you can start planting as soon as the rains are steady.
On hard soils we start plowing as soon as the rains have softened the soil. Start plowing on the plots with heady soils (silt and clay). Once they are very wet, they stick to the mouldboard and make the work difficult.

3.3.5 How to plow

1. The whole area of the plot has to be plowed. Not one little piece remains unplowed!

2. Always work the long side of the field, so that your furrows are as long as possible. You lose less time by turning round at the end of the field.

3. Always plow across the slope! Plowing down the slope provokes damage by erosion.

4. If your field is wider than 30 m divide up the area to be plowed into 'plots" so as to reduce walking at the ends of the furrow to a minimum.

A contoured field divides the field already into smaller plots.
There are two methods of plowing, depending on where you start and end work.


Fig. 3.25: The Gathering plowing method - you stars plowing in the middle of the land and you continue towards the edge of the land, one says you are opening Up or gathering.


Fig. 3.26: The Casting plowing You start plowing at the corner of the land and work towards the centre of the land, one says you are casting or finishing off

You are finishing off where your field has been opened up the previous year.
You are opening up where your field has been finished off the previous year.


Fig. 3.27: A field with 4 plots being plowed one year


Fig. 3.28: The same field plowed the alternate year. Plots which were gathered last year are now cast. Plots which were cast last year are now gathered.

3.3.6 Disadvantages of Plowing

Repeated plowing can have negative effects on the soil. The organic matter of the soil decomposes faster. The soil is losing fertility and is more susceptible to erosion.
To reduce plowing, you reridge the ridges with the ridger - plow.

3.3.7 Maintenance of the Plow

To save money and work more effectively, you have to maintain and care for your prow.

-check and tighten all bolts and nuts of your plow before starting work
-oil your prow, especially bolts and nuts every week end
-grease your plow wheel regularly
-store our plow in a dry place (cowshed) to avoid corrosion
-don't file the share of your plow too often

3.4 THE HARROW


Fig. 3.29: The harrow is made of an iron frame with iron tines.

The harrow is mainly used for

-raking
-harrowing and
-levelling

You can use the harrow after clearing, to rake the grass before you start plowing.

After plowing, you use the harrow to break big clods of earth and to remove unrooted weeds.

In the rice fields, the harrow is used to level the plot for uniform irrigation.

Some rules for harrowing

1. Harrow the field not more than 2 to 3 times.
2. Use the harrow across the direction of the prow.
3. Do the second harrowing across the first harrowing.
4. Never park your harrow upside down. The tines can wound man and animal.

3.5 The ridger

The adjustable ridger is one of the most important tools of the Farmer.


Fig. 3.30: The big adjustable Ridger

It is used for

-the preparation of the field ridges
-reridging of ridges
-weeding
-line application of fertilizer
-incorporation of manure


Fig. 3.31: The adjustable wings of the ridger allow the preparation of ridges with a distance of 50-100 cm.

3.5.1 Why make Ridges

Traditionally, all crops are grown on ridges or mounds.

Cropping on ridges has many advantages

-erosion control
-better growing conditions for young plants, especially root and tuber crops
-prevents water logging
-reduces spreading of fungal diseases
-harvesting of tuber / root crops is easier
-planting and weeding is easier
-incorporation of large quantities of organic matter is easier

3.5.2 How to make Ridges

When the soil is under cultivation or softened by plowing it is easy to make ridges with the ridger-plow. The adjustments of the ridger are done as for the prow. In addition, you can adjust the distance between your ridges by the adjustable wings.


Figure


Fig. 3.32: No! These ridges are not correct, they have hollows on top. Yes! These ridges are correct.

The ridges must not have hollows on top! If they do not have the correct shape after ridging once, you ridge for a second tune.

3.5.3 Reridging, Weeding, Band Application of Fertilizer


Fig. 3.33: When the rain has washed down soil from the top of the ridges into the furrows and weeds have grown, the ridger is used for weeding and reridging.


Fig. 3.34a: Reridging can be combined with weeding and band application of fertiliser.

-reridging gives the ridges a correct shape again and uproots the weeds at the same time (weeding)

-reridging covers the surface roots with soil and protects them against drying out
-reridging increases the ridges and the seedbed for root and tuber crops

-reridging combined with fertilizer application mixes the fertilizer with the soil and places the fertiliser grains near the plants (band application)


Fig. 3.34b: For reridging or weeding, the adjustable ridger is attached to the long yoke.

3.5.4 Splitting of old Ridges

When cropping on ridges, you don't have to plow after harvest. You use your ridger to split old ridges and mould new ones.

If you put organic matter (corn stalks, manure, etc.) into the furrows before splitting the old ridges, you can add plenty of manure to the soil.


Fig. 3.35: Split the old ridges after the cultivation season and incorporate organic matter in the soil.

3.5.5 Maintenance of the Ridger

To save money, you have to maintain and care for your ridger

-check and tighten all bolts and nuts of your ridger before starting work
-oil your ridger, especially bolts and nuts every week end
-store your ridges in a dry place (cowshed) to avoid corrosion

3.6 The tine-weeder/hoe

The tine weeder is a special implement for the weeding and hoeing of crops (inter- cultivation) which are planted on the flat, like rice and wheat.


Fig. 3.36: The tine weeder/hoe consists of a tine carrier, that is attached to the plow beam and the spring tines with a duck foot or small share, which are attached to the tine carrier.

Inter-cultivation (weeding/hoeing between plant rows)

-uproots weeds
-breaks the surface layer of the soil to improve air and water circulation
-increases the yield when early and repeatedly done


Fig. 3.37: When weeding crops, the distance between the tines and the plants rows should be as wide as your palm.

3.7 The cart

The cart consists of the iron frame with the loading platform, the axle with the wheels, the break system and the beam, to attach it to the harness.

The cart is used for transportation of

-manure from the cowshed to the farm
-implements (e.g. roller cutter) from the compound to the farm
-fertiliser from the compound to the farm
-produce from the farm to the compound
-produce from the compound to the market
-many other things (e.g. firewood, water...)

The cart makes transportation easy and fast. You don't have to carry things on your head again.

You can use the cart to transport your things and for commercial purposes, e.g. transport of maize or rice for other farmers.

Don't use the oxen more than 4 hours a day for transportation.

The cart is a very expensive implement. To run it economically

-you will have to use it well .
-you will have to care for it well

3.7.1 Loading of the Cart

The cart has a loading capacity of about 500 kg. This corresponds to

-5 bags of maize .
-6 to 7 bags of paddy rice

Never overload your cart. It can damage the wheel drums and other parts of the cart.

If you have young oxen, do not load up to 500 kg. You will over-work your oxen.
Start loading in the middle of your cart. Extend to both ends evenly.

Always balance the load you are putting on your cart.


Fig. 3.37: NO! The load is placed at the front of the cart. The load will press down the neck of your oxen.


Fig. 3.38: NO! The load is placed in the rear part of the cart. The harness is lifting up and strangling your oxen.


Fig 3.39: YES! The load is well balanced on top of the wheels. Your oxen will feel fine when pulling.

3.7.2 General Checks before using the Cart

1. Check the nuts and the tyre pressure
2. Check the brake system
3. Check your harness if it is well fitted
4. Check if the cart beam is correctly attached to the yoke
5. Check if your oxen are well.

3.7.3 High-Way Code

When using the cart, you have to follow certain rules to provide safety for you and your oxen.

1. Keep right.
2. Consider other road users.
3. Before turning left or right, consider other road users.
4. Remember to indicate with your hand before you turn.
5. Shout or hoot to warn other road users.
6. Do not stop at corners, junctions, bridges or narrow roads.
7. Never overtake at those places in six above.
8. Do not transport with oxen at night because there are no lights.
9. Do not overload the cart.
10. Tie your ox or oxen at every long stop.
11. Tie and brake your oxen when loading.
12. Do not use untrained or stubborn oxen.
13. Do not use oxen for more than 4 hours even during transporting.
14. When you drink, do not drive with your oxen.
15. Obey all the road signs and signals.
16. Brake your cart on slopes.
17.When you have a breakdown, put a sign on the road to warn other road users.
18. Do not leave your oxen loose on the higkway.

3.7.4 Maintenance of the Cart

The cart is expensive. You have to care for it well to avoid high repair cost.

-Do not overload the cart to avoid damage, especially to the wheel drums.
-Park your cart in the cowshed to avoid rotting of wooden parts and corrosion of the iron parts.
-Check and tighten all nuts regularly.
-Grease the brake system from time to time.

-Check the tyre pressure. Never use the cart with a flat tyre. The tyre, the inner tube and the wheel drum can be damaged.

-Protect the tyres against direct sunlight.

3.8 The roller cutter

The Roller Cutter is an implement for clearing pulled by the oxen. In addition it can be used to break up earth lumps (harrowing) and to puddle.


Fig. 3.40: The roller cutter consists of an iron frame with the platform on which to put load, the axle with the rotating knives to clear and the beam to attach it to the harness.

In action, the roller cutter pushes down grass, small bushes or harvest residues, which are overrolled and cut into small pieces by the rotating knives. The resulting mulch (cut organic matter) is easily covered with soil by using the plow or ridger.

The roller cutter

-makes the clearing of the fields easier and faster
-enables the oxen farmer to extend his cropping area and to prepare his field for timely planting
-can be used for harrowing and puddling (swamp rice)

-promotes organic farming. Grass or harvest residues are cut into small pieces, which can be easily buried in the soil

3.8.1 How to use the Roller Cutter

To avoid breaking the beam and other damage to the roller cutter, never turn on one spot when loaded. Allow a larger turning circle, operate as indicated in Figure 3.41.


Fig. 3.41: If the space between two contour bonds is too narrow to allow the roller cutter to turn round, work on two fields at the same time.

Depending on the type of work, you add different quantities of load (stones or sandfilled bags) to the platform of the roller cutter:

-no load for puddling of swamp-rice fields
-small load for harrowing
-medium load for dry harvest residues .
-heavy load for wet residues and tall grass

For optimum performance, you may need several passes. Time required to clear hectare is about 3 days.

3.8.2 Maintenance of the Roller Cutter

The roller cutter is an expensive implement. You have to care for it well to avoid costly repairs.

1. Clean the knives after use.
2. Tighten all nuts before use.
3. Store it in a dry place (cowshed).
4. Do not use it in a stony fields.

5. Transport of the roller cutter from the compound to the farm is done by cart. If you roll the roller cutter on stony or firm farm roads, the knives become blunt or broken.

3.9 The seed planter

This Planter is used to plant the following seeds:

- Maize
- Beans
- Soyabeans
- Groundnuts
- Cowpeas


Fig. 3.42: This Seed Planter has three different kinds of adjustments:

-Adjustment of the seed distribution hole according to the different kinds of seed you want to plant.

-Adjustment of the planting distance, from 0 to 30 cm.
-Adjustment of the planting depth, from 0 to 8 cm.

For the adjustment of the distribution hole, three distributors are given:

1. A distributor with a distribution hole of 16.5 mm diam. used for planting conditioned maize
(over 8 mm) and beans.

2. A distributor with a distribution hole of 13 mm diam. used for planting conditioned soyabeans (over 6 mm).
3. A distributor with a distribution hole of 18.5 mm diam. which is thicker and used for planting of conditioned groundnuts (over 8 mm).


Fig. 3.43: Details of the seed metering mechanism

Here are the adjustments for the different crops:

CROPS

CONDITIONMENT

DISTRIBUTION HOLE

PLANTING DISTANCE

PLANTING DEPTH

Maize

Sieved (> 8 mm)

16.5 mm diam

25 cm.

5 cm.

Beans

Not sieved

16.5 mm diam

10 cm.

3 cm.

Soyabeans

Sieved (> 6 cm)

13.0 mm diam

10 cm.

3 cm.

Groundnuts

Sieved (> 8 cm)

18.5 mm diam

15 cm.

3 cm.

For the conditioning of the seeds, two sieves are provided:

1. One sieve with holes of 8 mm diam. for sieving of maize and groundnuts.
2. One sieve with holes of 6 mm diam. for sieving of soyabeans.

Special adjustment for groundnuts:

-The distributor is thicker ( 12 mm thick) with a distribution hole of 18.5 mm diam.
-Since the seeds are very fragile there are two adjustments:

1. Inside the seed box, there is a predistributor rubber which is too strong for groundnuts.

Remove the seed box, take away this rubber and replace it with a very soft one which is provided with the planter, then install the seed box in its place.

2. Normally the injector pushes the seed inside the soil, but for groundnuts, the injector will break the seeds. To stop the injector, put a bolt with a nut (which are provided with the planter) in the hole which is at the above part of the Planter.


Fig. 3.44: Lateral view of the seed planter.

General Observations:

-When you are planting, do not go too quickly, so you can hear the sound of the seed falling down into the collector. If you don't hear any sound, it means the seed has not fallen, and you have to repeat the injection. If you are going too quickly, it may affect the regularity of the distribution of the seeds.

-If the mechanism is rubbing, put some oil in the different places of the mechanism.
-Do not completely fill the seed box: better fill it halfway.

-When you are adjusting the planting depth, be careful that the piece of the sheet closing the bottom of the planter is well adjusted (it must be well closed when the injector is up).
-From time to time, check if the bottom of the planter is closing well (no mud or no seed preventing it from closing).

TO PREVIOUS SECTION OF BOOK TO NEXT SECTION OF BOOK