Back to Home Page of CD3WD Project or Back to list of CD3WD Publications

CLOSE THIS BOOKSolar Cookers in the Third World (GTZ, 1990, 228 p.)
VIEW THE DOCUMENT(introduction...)
VIEW THE DOCUMENTAcknowledgements
VIEW THE DOCUMENT1. Introduction
2. Solar Cookers and Solar Cooker Projects
3. Conditions of Acceptance for Solar Cookers
VIEW THE DOCUMENT4. Questions Concerning Solar Cookers and Solar Cooker Projects
VIEW THE DOCUMENT5. References
Appendix 1: Solar Cooking Devices
VIEW THE DOCUMENTAppendix 2: Self-construction Directions for the ULOG Tropical

Appendix 2: Self-construction Directions for the ULOG Tropical

Solar Cooker

ULOG SOLAR-COOKER/OVEN

TROPICAL MODEL 85

SELF-CONSTRUCTION DIRECTIONS

First edition Nov. 1985 - all rights reserved.
This instruction booklet is available direct from the author (see below). Price in Switzerland: Sfr. 16.--, payable to Swiss PTT postal giro account BASLE 40-18151-8; if ordered from FR Germany:
DM 20.--, by registered letter, Prices include postage of booklet.
Ulrich Oehler, Development Engineer
Morgartenring 18, CH-4054 Basle, Switzerland
Tel. 061 - 38 66 22


FIGURE

FIGURE

FIGURE

FIGURE

FIGURE

FIGURE

FIGURE

Construction Directions

Collect the materials according to the Parts List (p. 4) and prepare all 26 items in sufficient quantities and/or in the dimensions given.

If windowglass panes of 2mm thickness cannot be procured, thicker panes (3-6mm),-e.g. from old cars, can be used. Particularly where children playing could cause glass breakage it is advisable to use breakproof material (hardened or toughened glass, laminated or compound glass, fluorine-containing plastics sheet) For the upper sheet of glass. me glass-frame spacer battens (5) may have to be planed down thinner if thicker (3-6mm) panes are used.

All four battens for the glass-frame (4) should have one tenon at one end and two tenons at the other. These can be cut with saw, firmer chisel and wood rasp. The four battens are joined, each by a nail (21) in each of the 12 tenons, to the glass frame which should
be right-angled and distortion-free and which should show no projecting cogs. Now, or even already before the four battens are nailed together, one of them should be provided with six notches according to the dimensions shown above.

Then four glass-frame retaining strips (6) are fixed, each with 2 or 3 nails (22), exactly parallel to the frame, without projecting cogs; one sheet of glass (1) is carefully cleaned and inserted; four spacer battens (5) are also fixed, each with two nails (22); the second glass pane is cleaned and inserted; and, finally, the remaining four retaining strips are put into place and fixed.

On the lid (12), the edges should be slightly rounded down with a file or sandpaper, the four hinges (13) then being laid in place, spaced at regular intervals apart, with reinforcement in the shape of a fastening plate (11), the whole being nailed together as shown on p. 11. For this you use 22 nails (23) which are turned in and nailed into the plywood surface. Then glue the reflector foil over the whole inside surface (underside) of the lid and drill the six holes for the lid prop. me finished lid should then be fitted, with the second reinforcement (11) and 20 nails (23), to the upper edge of the glass frame so that it closes firmly by its own weight with as little play as possible (see drawing p. 11).

The frame (3) for the stove bottom is cut to size according to p. 6 and nailed together at right angles, free of distortion and without projecting cogs, with 12 nails (22). Nails protruding on the underside are hammered down flat.

In accordance with p. 10, one leg (14) should be fixed to each side wall (10) with 3 or 4 nails (22) as well as a reinforcing strip (15), fixed with five nails (23). men the four side walls are nailed - each with four nails (22) - to the frame 13) and, each with 3 or 4 nails (22), to the corresponding legs. To strengthen the structure, hammer a nail (21) perpendicularly through the frame (3) into each of the four legs (14).

Cut the stove bottom (trough) (2) exactly to size according to the drawing on p. 5 and lay it on a table with the shiny side upwards. Press a sharp-edged, straight piece of wad (e.g. a plane) of a maximum of 42cm in length on the square drawn on the middle of the sheet so that one side of the stove bottom can be bent upwards exactly along the broken line. When all sides have been thus bent upwards you can form a corner by pressing the two points one against the other, which should shape a corner of the upper frame of the stove bottom. Now, but not before, you fold the three-cornered "peak" along the 17cm-long broken line sketched in on the drawing. men, turn or beat down the folded "peak" and press it on to one side wall of the stove bottom (trough) as shown above. After all four corners have been shaped in this way, you then bend the four upper edges of the sheet over at right-angles (over a straight tabletop edge, for example). Lay the finished stove bottom in the frame (3) and fix it with 16 nails (23).

After the trough has been fitted, place the whole cooker upside down on the floor so that the four legs are uppermost. Completely fill up all spaces, hollows and cavities with insulation material (25) which must be absolutely dry; it should not be compressed but must be filled so tightly as to ensure that no hollow spaces remain and that none can arise when, after the floor (9) of the cooker has been fitted, the cooker is set firmly on its legs. To prevent the stove bottom from sagging under the weight of a full saucepan, it is advisable to insulate the middle of the stove with compression-resistant materials such as, for example, several layers of corrugated board, egg cartons and the like. Now the cooker, with the floor (9), is closed by means of 20 nails (23) and then placed on its legs.

To place the glass frame (4) centrally over the stove bottom (2), nail the revetment or liner casing(l6) on the frame (3) with 16 nails (22). This will improve thermal: insulation.

Now the shiny 42 x 42cm floor of the trough should be coated with matt, black, heat resistant paint (26). Since most ready-to-use paints contain toxic solvents, this should be done outdoors or near an open window. For the same reason the cooker should not be used for cooking food until several days after completion and not until it has first been heated up many times. Paint which is too fresh can adversely affect the taste and smell of the food. The floor of the stove bottom can also be covered with small pieces of charcoal or sprinkled all over (no gaps) with charcoal powder, instead of a coat of paint.

A suitably-shaped branch is screwed on to the front of the glass frame (4) with 2-4 wood screws (24), to form a handle (20) and to enable the frame to be easily lifted up for a saucepan to be put in the cooker. Make quite sure when fixing the handle that the points of the screws do not touch the glass,, The other two handles (20) are likewise screwed on to the sides of the cooker, each with 2-4 wood screws (24) so that, in this case, the screws pass through into the frame of the trough (3). Iwo persons can easily carry the solar ccoker/oven by the side handles.

The lid prop (19) also consists of a tree branch. A nail (21) is hammered into the centre of one end of the prop but only so far as to leave about 15mm still protruding. With a file, remove the head of the nail and round off the stump with a file. The protruding nail should then be slightly bent over so that it fits easily into any one of the holes in the lid.

Remove the head of a nail (21) and file the stump to a point. Then shape the nail into a "U". The resulting pointed staple is hammered into the front, right-hand end of the glass frame and serves as an eyelet for the cord (18) with cord tightener (17) as shown above and the front.

Items 9, 10, 14 and 15 can be of metal instead of wood and/or plywood, if metal is easier to came by; for example, a sheet-metal drum cut in half lengthwise can serve as a trough for the stave-bottam frame. However, strict attention should be paid to the space between the metal trough and the stove bottom which, everywhere, should be at least 8cm. It is also imperative to ensure that the space and any hollows be completely filled with insulating material. Two or three cookers can be built in to a correspondingly long trough, side by side, in order to cook larger amounts of food as well as to reduce heat loss.

General Notes

This solar oven is primarily suitable for cooking and baking in those countries lying between the two tropics, i.e. near the equator. The designer has developed and tested other models for other countries.

At midday, the reflector is best positioned at about 20º-30º to the rear, as shown on the front page. Two hours before or after midday it should be more or less perpendicular, whereas in the morning and evening a leaning-forward position is better. In this way the foil reflects the sunrays falling on it into the cooker where they intensify the direct, incident sunlight. Further reflectors all round the glass frame can enhance this effect. Their most effective angular setting at any given time can easily be determined by trial.

All dark-colaured pots, pans and cake tins are suitable as cooking and baking utensils. Most important is that lids should be matt black, as far as possible. Since hot air is lighter than cold, it is hotter in the upper half of the stove bottom (trough) than in the rawer. It is therefore advisable to use cooking vessels which are as flat as possible and to place them on a black-painted, wire or wooden grid or on a layer of charcoal so that they are close to the glass-sheet. If the hot air can also circulate underneath the cooking vessel the food is heated up quicker and more evenly.

Large amounts of food, for families with many children, school kitchens, etc., are prepared in larger solar cookers but, whatever size is used, the depth of the stove bottom (trough) should not be greater than that of the ULOG 85 model described herein. Since large glass panes are difficult to come by and to transport, and their replacement in case of breakage is quite expensive, it is recommended that several standard cookers be used instead of an extra-large one. If you build two or three cookers together in a row, heat loss (and thus cooking time) is reduced. On the other hand, a large slow cooker (similar to a law-heat hay box cooker) can be useful for preparing large quantities of food. It consists of a large, if possible ball-shaped (length, depth and width the same) vessel which can stand in a larger crate or tub allowing for at least 10cm of space (between cooking vessel and crate) on all sides. This interspace is filled up all round and under the vessel with insulation material. As soon as the sun shines, cooking is started in.all already existing and available solar cookers. Then, as soon as the food has reached boiling-point it is filled into the slow cooker which must be immediately but carefully closed with a tight-fitting insulating lid. Now, the second and third helpings can be heated or boiled up in the solar cookers, and the hot food again goes into the slow cooker. Like this, a swarm of hungry people can be well fed in the evening.

After sundown it is still possible to have hot meals from the solar cooker if, at dusk, the lid (12) is closed and the cooker is covered up with a blanket. m e food will then keep warm for a few hours longer but it can be kept warm longer still in the slow cooker described above.

Cooking time can be determined by means of the following data: When the sun is at the zenith and its radiation is at right-angles, it emits energy amounting to 1 kw on one square metre, given a cloudless sky and clear air. Fog, mist, haze, dust, wind-blown sand and clouds have considerable influence on the effective quantity of energy.

The solar cooker/oven described in this booklet has an effective glass surface area of 0.23 m². If clean and set at the correct angle, the reflector foil can reflect about 25% of the light into the cooker. Thus, under optimum conditions, the user can reckon on a total of 288 watts; 1.16 watt-hours are needed to heat up one litre of water by 1ºC. Heating-up from an ambient temperature of
25ºC to 95ºC boiling temperature means a temperature rise of 70 degrees. So, to boil up a litre of water you need 70 x 1.16 = 81 Wh, which in our solar cooker takes 81 -- 288 = 0.28 hours, or 17 minutes. However, since not only the water but also the vessel and the interior are being heated, and since since loss of reflection, and thus radiation, occurs, the water will boil only after 25-30 minutes. About 50-60 minutes are needed to boil two litres of water.

Concentrating, or focusing, solar cookers offer another possibility of increasing the volume of food to be cooked. They work with a concave parabolic reelector mirror and can heat a large cooking pot from below (as with a conventional hot plate) and the depth of the pot is not limited to 16cm. But this solar-cooking principle is not without its disadvantages and hazards. me typical features of the two systems are compared in the juxtaposition which follows.

Recipes for cooking in the solar oven are very numerous: in the USA alone at least three solar-cookery books have been published. But it is fun to experiment and we would not wish to deny "solar" cooks this pleasure. We therefore give only a few guidelines, as follows:

The solar cooker should never be opened during the cooking or baking process otherwise heat gets lost. But this also means that only so much moisture escapes from the food to be cooked or baked as to saturate the air space in the cooker with water vapour; afterwards, the food hardly dries out any more. Generally, therefore, less water is needed than with conventional cooking. For example, if you have been used to cooking two parts of rice with three parts of water, you should now choose a ratio of 1:1. Thus, you can cook tea, soups or sauces with advantage in very concentrated form and, before serving, dilute them with hot water. By this means you can either shorten cooking time or increase the amount of food to be cooked. If cereals, pulses, legumes, dried vegetables or desiccated fruits are put in clean water the day before, they will "slow" cook much quicker in the ULOG solar cooker/oven.

MUCH FUN AND BON APPETIT !

Please address all enquiries about design plans, prices for finished products and dates of courses in solar-cooker construction to: Ulrich Oehler, Development, Engineer, Morgartenring 18, 4054
Basle, Switzerland Tel. 061 - 38 66 22

SUPPLEMENTS FOR THE DOUBLE MODEL

For certain users the described solar cooker can be too small. In this case, we recommend to employ, instead of two cookers, a double model. In what follows are described the changements in relation to the simple model. The dimensions in one direction are all increased of 53 cm.

Changements in the parts list (bold)
SUPPLEMENTS FOR THE DOUBLE MODEL

For certain users the described solar cooker can be too small. In this case, we recommend to employ, instead of two cookers, a double model. In what follows are described the changements in relation to the simple model. The dimensions in one direction are all increased of 53 cm.

Changements in the parts list (bold)

Item

No.

Description

Dimensions

1

4

sheet of glass


2

1

stove bottom (trough)

132 x 75 x 0.03

3A

2

frame for stove bottom

119.5 x 8 x 3

3B

2

"

66.5 x 8 x 3

4A

2

frame for glass

108.5 x 6 x 2.5

4B

3

"

55.5 x 6 x 2.5

5

8

glass-frame spacer battens


6

16

glass-frame retaining strips


1

1

reflector foil

109 x 56 x 0.01

9

1

floor

120.5 x 67.5 x 0.5

10A

2

side wall

120 x 25 x 0.5

10B

2

"

67 x 25 x 0.5

11

2

reinforcement

108 x 4.5 x 0.5

12

1

cover (lid)

109 x 56 x 0.8

13

8

hinge


15A

2

reinforcing strip

111.4 x 2.5 x 1.5

15B

2

58.4 x 2.5 x 1.5

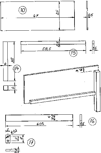
16A

2

revetment (lining)

114.5 x 6 x 1.5

16B

2

61.5 x 6 x 1.5

17

2

cord tightener


18

2

cord


19

2

prop for lid


TO PREVIOUS SECTION OF BOOK