Back to Home Page of CD3WD Project or Back to list of CD3WD Publications

CLOSE THIS BOOKFisheries Technologies for Developing Countries (BOSTID, 1987, 167 p.)
VIEW THE DOCUMENTAcknowledgments
VIEW THE DOCUMENTPreface
VIEW THE DOCUMENTOverview
VIEW THE DOCUMENT1 Boat Design, Construction, and Propulsion
VIEW THE DOCUMENT2 Fishing Methods and Gear
VIEW THE DOCUMENT3 Artificial Reefs and Fish Aggregating Devices
VIEW THE DOCUMENT4 Coastal Mariculture
VIEW THE DOCUMENT5 Fish Processing and Preservation

2 Fishing Methods and Gear

Traditional fishing arts have been developed over the years to adapt to local conditions (such as the type of coast and nearshore area), the species of fish desired, and the size targeted. The most successful fishing methods of a given region are those that have stood the test of time.

This chapter will describe some of the traditional fishing methods used around the world and consider their advantages and disadvantages. Each method shows a continuum of development with evolution resulting from modernizing factors. Traditional fishing arts in various stages of modernization could be transferred and applied in new regions with the technical level appropriate for the local conditions. The adaptation of new technologies could help small-scale fisheries increase their catch. They could compete more effectively with industrial fisheries or exploit a previously unexploited resource. Energy-efficient technologies are recommended where possible.

The introduction of any new fishing technology always demands good national management and regulation. Vessels must also be matched with new methods or gear. As gear becomes more complex, it may require upgrading of vessels in size, power, and design. The site specificity of fishing arts should always be considered.

PASSIVE GEAR

Passive gear is stationary. It does not have to be dragged or towed to capture fish. Long lines, traps, weirs, and gill nets effectively fish by themselves. The catch is recovered by simply removing the gear from the water after a period of time.

Hooks and Lines

The simplest form of fishing requires only a line and a baited hook. The line is cast into the water where the fish supposedly are, the fish take the bait and are hauled in. Lines may be cast by ingenious methods. In Oceania, the line is wound around a stone and thrown from the shore into the water.

Hook and line fishing is inexpensive and easy. Almost any boat or shoreline can be used and the catch is live and of high quality. A wide variety of sizes and types of hooks and lures can be used, allowing very selective fishing. Tuna fishing with poles and lines continues to be widely practiced and productive.

In spite of these advantages, line fishing is labor intensive. A very limited number of fish can be captured per line and usually some type of bait is required.

Line-fishing methods can be made more efficient if multiple hooks on a line are used (figure 2.1). Often these are attached in pairs to form balanced lines. A single, branched rod, used in Lake Tanganyika fisheries, also allows one person to fish an increased number of lines and hooks. However, the number of lines that one person can hold is limited.

Set lines

The use of set lines can increase the number of lines deployed without requiring the constant presence of the fisherman. Such lines must be checked regularly because predators will devour any fish caught if the lines are not promptly recovered. Fishing rods can be set untended in shallow waters or on the beach. In the ocean, set lines may be suspended from the surface.

Longlines

Longlines are unwatched lines with multiple hooks. They can be used at the surface, suspended in the water column, or fixed on or near the bottom (figure 2.2). Japanese and Italian fishermen use sailing rafts to tow longlines away from their boats. Longlines may be set from the beach by means of sailing rafts or kites if winds are favorable. Surface longlines are used to capture tuna, shark, and billfish. Subsurface and bottom-set longlines are used to catch cod, grouper, snapper, drum, bream, halibut, haddock, hake, and flatfish.


FIGURE 2.1 Multiple-baited hooks on a line can increase the catch.


FIGURE 2.2 Long lines of baited hooks can be deployed at the surface, midwater, at the bottom, or vertically in the water column.

An alternative to bottom-set longlines is a vertical fish stick (figure 2.3). This device is hung from a surface float just off the bottom. It has rigid branches to allow multiple hooks without snagging. Fishermen can use local materials to fabricate this gear. Hook-and-line fishing methods offer a number of advantages. They involve low capital and energy investments and labor-intensive operations. Species and size can be selected by the position of the hook in the water column, the hook size, and by the bait type and size. Small-scale fisheries using only open boats can easily adopt hook-and-line methods.


FIGURE 2.3 This 2.5-m rod has 5 rigid cross branches, each with 2 hooks. Adjacent cross branches, are set at about 90 gr. To each other for greater spacing between hooks. (Atlantic and Gulf Fishing Supply Corp.)

At the same time, the hooks generally require bait (which may be expensive) and baiting is time consuming. It may be difficult to store longlines and their catch on a small vessel. Moreover, a high degree of skill is involved in deploying and retrieving longlines, unless expensive mechanized equipment is used.

Modernization in longline fisheries generally involves the mechanization of hauling. If available, hydraulic or electrical drives offer better control, lower maintenance, and variable power.

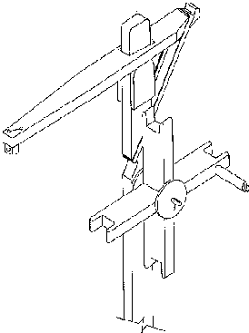
Simple mechanical hauling techniques can increase the range and depth of hand-line fishing. Manually operated reels can be constructed of local materials and used to reduce the effort needed to handle gear. A vehicle wheel (from a bicycle or automombile) can be fitted with a handle and mounted on the boat to create a simple roller, which facilitates handling lines or nets. A simple wooden hand hauler can also be constructed (figure 2.4). The placement, design and dimensions of the hauler can vary according to the size and length of line, and the type and depth of fishing.

Traps and Pots

Traps are devices that fish or shellfish enter in search of shelter or food, or because an obstacle is placed in the fish's normal path of migration. They are designed so that getting out is harder than getting in. Traditional techniques employing traps and pots have developed in all regions of the world to catch demersal species Their design and operation match the specific conditions and be havior of fish in a given area. Hence the importance of local knowledge in design and placement cannot be overemphasized.

Traps and pots can be quite specifically tailored to species and size. They may be constructed of local materials, generally at low cost, and usually require no bait. An additional advantage of this fishing method is the high quality of the live catch.

At the same time, their construction requires skill and knowledge of fishing conditions. Traps and pots are bulky and can occupy considerable space on a vessel. Handling is difficult, and manual hauling is arduous. A major disadvantage of this technique is the high loss of gear due to theft, storm damage, degradation of materials, and the inability to locate the gear once it is deployed.


FIGURE 2.4 A simple wooden handreel can ease landing larger fish. (D. C. Cook)

A lost trap may continue to operate ("ghost fishing"), depleting marine resources.

Traps increasingly tend to be constructed of more durable materials, such as wire mesh and vinyl-clad wire netting, instead of traditional woods and fibers. Electrical, mechanical, and hydraulic hauling techniques are also modernizing this fishing system. There are thousands of trap designs throughout the world, many of which would be innovative outside of their region of use.


FIGURE 2.5 Cuban fishermen cover their crab traps with mangrove branches to provide a shady enticement. These traps are set in long rows, about 40 m apart.

The use of mangrove boughs to cover trap roofs provides attractive shade and shelter for some species. Cuban cylindrical or box crab traps, made of wire mesh, are lined with boughs and are set out in long rows of 50-60 traps, about 40 m apart (figure 2.5). The traps are checked every 2 or 3 days.

The "curiosity trap," used throughout the Caribbean, has curved surfaces, which seem to attract snapper, grouper, jack, and other bottom species. The trap is fished in sandy bottoms near reefs or rocks in water depths between 3 and 80 m and requires no bait. Made of wire netting, it has two funnel entries, which turn down. Since the trap measures approximately 2 x 3 x 1 m and has large funnel openings (11 x 20 cm), fish weighing up to 12 kg can enter. It is usually pulled and cleared every third day.

Variations of Caribbean Island fish traps incorporate exterior funnels leading into a cone-shaped interior funnel that is often turned down to prevent escape. These traps are generally rectangular, although they may be cylindrical or have pointed roofs. Traditionally, cane fibers were used in construction ,but marine mesh and galvanized chicken wire are increasingly popular. Fishermen report that such traps catch lobster as well as all types of bottom fish, such as snapper, grouper, and blue runner.

A trash can is used in Hawaii to catch deepwater shrimp. The bottom is cut out of a 10-gallon trash can and is replaced by a 3/4-inch nylon fishnet funnel, which is the only entry. A part of the lid is also cut out and replaced with a 1/2-inch wire mesh. This trap is light, economical, and obtains profitable catches.

Whippy bough traps catch fish by the elastic power of a bent bough. When the fish takes the bait, it releases a holding mechanism, which causes the rod to straighten and the catch to be suspended out of the water, clear of predators. This automatic fishing line is common in Java, Thailand, and Europe.

Octopus pots are artificial caves where these animals find refuge, but are free to leave at will. Earthenware pots with handles (Italy, Malta) or without handles (Japan, Korea), are strung singly or on longlines with up to 100 pieces. If the pots are hauled neck down, the octopuses will remain in their shelter.

Sections of PVC pipe are used by the Japanese as octopus pots. Two sections of pipe, 15 cm in diameter and 75 cm long, are attached side by side. A 5-cm cement plug bisects each section. This pot offers four dens for octopus and lies flat on the bottom (figure 2.7).

An equally effective pot can be made from old tires. The tires arecut in thirds, the rims laced together with wire, and a circular wooden disk nailed to one end (figure 2.8). Tire pots have been fished extensively in Venezuela. These pots as well as the PVC pipe pots are fished from bottom longlines at intervals of about 8 m. Buoys mark both ends of the line so that the gear can be easily located and recovered after a fishing period of several days.

Timed-float releases or pop-ups can also be attached to the traps (figure 2.9). The pop-ups corrode in saltwater after a given number of days, and the increased rope length permits the previously submerged float to ascend to the surface. This allows concealed traps and reduces poaching, theft, or cut-off floats.

Corrosion is always a serious problem with metal traps. One solution is to use marine mesh, which combines the strength of steel wire with the durability of plastic. The steel or galvanized wire is coated with polyvinyl chloride. Zinc or aluminum anodes can also be attached to metal traps to create a galvanic couple with the iron and double or triple the life of the wire netting. One of the disadvantages of traps is their bulkiness. Some collapsible traps made of wire mesh and plastic are commercially available, but there is a need for local research in this area.


FIGURE 2.7 Sections of plastic pipe can be used as octopus pots. This design creates four chambers, each about 15 X 35 cm, by dividing two pipes in half with a concrete plug.


FIGURE 2.8 For use as octopus pots, discarded tires can be cut in thirds, laced into cylinders, and closed at one end with a wooden disc.


FIGURE 2.9 Seawater corrosion is put to good use with these timed float releases. The thickness of the corrodable band determines how long the marker float stays underwater. For example, traps set with a three-day band on Monday would stay unmarked until Thursday when the float would surface. In the interim, poaching, trap theft, and accidental cutting of the trap line would be reduced.

Weirs and Trap Nets

Large traps can be built in shallow coastal waters to capture sizable schools of fish such as salmon, bonito, tuna, herring, sardines, and cod. Leaders, or wings, guide fish through a slit and into a corral or catching chamber. The small opening acts as a retaining device so the fish do not escape from the corral. Unlike smaller nets, these large structures are not closed at the top. If the walls are constructed of non-textile materials, the trap is called a weir. Pound or trap nets utilize textile netting.


FIGURE 2.10 The bamboo stake trap is set facing the shore. As the tide recedes, shore-feeding fish head for deeper water and the wings of the trap guide them to the center area where they are netted.

Weirs and trap nets have a number of advantages that favor their use in developing countries. They may be constructed of local materials and use little or no energy. Where seasonal runs occur, the catches can be enormous. Indeed, these traps are the only means to intercept large schools without a costly investment in vessels. The fish are live at capture, and therefore in excellent condition.

Nevertheless, if the construction material for the traps is netting, costs may be significant. In addition, a great deal of labor is needed to install these devices. These traps are limited to physically suitable areas and to local and seasonal fish behavior. Constant observation is required during the fishing season.

These traps show a tremendous diversity in design. Large bamboo weirs are used in Southeast Asia. The bamboo stake trap consists of long fences of split bamboo, fastened at intervals to large wooden poles driven into the shore bottom. Long wings guide the fish into the heart-shaped center of the trap where they are harvested with nets (figure 2.10). It is usually set with the open end toward shore.

In trap nets, the netting is usually hung from stakes driven into the bottom, although in deep water anchors and floats may be used. The bottom of the corrals may also be made of netting to facilitate harvesting the fish.

In the Caribbean, a simple trap net is used in shallow shelf areas (figure 2.11). The length of the wings depends upon the characteristics of the region, but generally the maximum placement depth is 4 m. One of the nylon mesh wings runs from the shore to the corral opening to intercept the migration path of the fish. The other wing is semicircular to prevent their escape and direct them into the corral. From the corral, a narrow opening leads into a smaller holding pool or crib with a net floor to make fish recovery easier.

A similar Caribbean trap net is used to capture crabs. The crabs enter the corral through a conical passageway. The lower and upper parts of the corral walls are made of zinc sheeting to prevent the crabs from escaping. This technique is reported to be extremely productive.

A Japanese floating trap (figure 2.12) is another variation on this theme. A floating net cage (25 x 8 x 4 m) is anchored over the shallow shelf. One wing extends up to hundreds of meters to the coast and the other to deeper waters. Schools of fish are again directed by the wings through the slits in the cage. Depending on its placement, this floating trap catches demersal as well as pelagic species.

Entangling Nets

Entangling nets are net walls, placed transversely to the path of migrating fish. The bottom of the net is weighted with sinkers while the top is supported by floats.

A single-walled net (gill net) is used to gill fish, while a triple walled net (trammel) entangles them.

Gill Nets

A gill net is an upright wall of fiber netting. A fish, of a size for which the net is designed, swimming into the net, can only pass part way through a single mesh. As the fish struggles to free itself, the net twine slips in back of the gill. The fish is thus gilled and can go neither forward nor backward. Various mesh sizes are employed, depending on the species and size of the fish to be caught (figure 2.13).


FIGURE 2.11 This Caribbean trap net is set to capture fish swimming parallel to the shore. One wing of netting extends from the shore to the corral and the second is placed in a semicircle to deflect escaping fish.

Trammel Nets

Trammel nets have three panels of netting suspended from a common row of floats and attached to a single bottom line. The two outside walls of netting have a mesh larger than the targeted fish, and the interior netting has a smaller mesh size. The inside net hangs loosely between the two outer nets. A fish striking from either side passes through the large mesh outer panel, strikes the smaller mesh interior panel, and carries it through the opposite large mesh panel, forming a sack or pocket in which the fish is trapped (figure 2.14). A trammel net is often fished by drifting.


FIGURE 2.12 A Japanese floating trap is anchored in shallow water. Schools of fish are intercepted and diverted into a net cage.

These nets may be used at the surface, in midwater, or at the bottom (figure 2.15). Although a single net may be deployed, usually a row of nets are set. A fisherman may choose to anchor his net or allow it to drift. In intertidal areas, the nets may be driven into the bottom and the fish collected at low tide. Taiwanese fishermen tie scare ropes around their bodies and swim as a group toward a fixed net. Fish in the swimmers' path are frightened into the net.

To be most effective, a net should be invisible to the fish. In the past, cotton nets were dyed different colors to match the background. Nowadays, transparent monofilament nets are mainly used for entangling nets, though more visible but softer continuous filament nylon nets are still popular in some fisheries.

Monofilament fibers are less elastic and stiffer than continuous multifilament nylon fibers. Thus, although the former are more efficient in catching the fish, the latter hold them better.

The great advantage of entangling nets is their selectivity. The way the net is hung and its depth determine the species of fish captured. The shape and size of the mesh also select fish species of a specific size. Fish whose girth is smaller than that of the mesh opening are able to swim through.


FIGURE 2.13 The mesh size of a gill net determines the size of the fish caught.


FIGURE 2.14 Trammel nets capture fish in a pocket of netting.


FIGURE 2.15 Entangling nets can be used at the surface, midwater, or on the bottom, either anchored or free-floating, depending on the target fish.

Even a lone fisherman can manually deploy a gill net or a trammel net from a small craft. Floats and sinkers can be made of local materials such as bamboo, bottles, cement, or stones, although manufactured equipment might be more efficient.

These advantages are balanced by serious liabilities. Entangling nets cost more than hooks or traps. They require a high degree of maintenance, and picking the fish out of the net is labor intensive. Since the fish are usually dead when harvested, they will be of lower quality.

Ghost fishing with nets made of synthetic fibers is a problem.

If lost, the nets continue to trap fish, because the fibers are not biodegradable. To avoid this, the twine holding the netting to the floats should be made of natural fibers, which will rot in time.

Stationary Liftnets

Liftnets are lifted from the water at the moment when the sought-after fish have gathered over them. These nets can be installed on boats or on the shores of rivers, lakes, lagoons, and estuaries (figure 2.16). Lifting power may be provided by pulleys or weighted levers.

In South India, liftnets are operated off the beaches and lifted with counterweights. At night, lamps are hung from the crossbars to attract fish.

Light is also used to attract fish to liftnets operated from shipboard. In the Caspian Sea, Soviet fishermen use small circular liftnets equipped with underwater electric lamps to catch anchovy. A larger variation of liftnet is called a blanket net. Operated from the ship's side, it can almost be as wide as the vessel's length (figure 2.17). Four-boat liftnets are common in Scandinavian and Southeast Asian fisheries. The net is lowered or raised by all the boats in unison.


FIGURE 2.16 Liftnets can be used from small boats or from= the shore. Fishermen bait the net area and wait for fish to gather. At night, torches or lamps can be used to attract fish.


FIGURE 2.17 On larger boats, electric lights are used with liftnets to capture anchovies and sardines.

The Lake Tanganyika liftnet is suspended from hauling ropes at the four ends of a catamaran 3.35-6.0 m long. The net is shaped like an inverted pyramid and has a stretched depth of 12 m. Kerosene lamps are used to attract the fish over the net opening that is suspended between the two hulls. After the fish have been concentrated, the net is quickly hauled through the open area between the hulls.

Liftnets can be cost effective and labor effective when set under specific conditions (narrow passages and rivers) or when attracting fish with chum or light. The catch is alive and, therefore, of good quality.

This fishing technique, especially in combination with light attraction, could be used in many areas, either for consumable fish or live bait.

ACTIVE GEAR

Active gear has to be moved, dragged, or towed in order to capture fish. This usually requires engine-propelled boats and usually involves additional investment over passive or stationary gear.

Trolling

Trolling lines are simple hooked lines that are trailed from a moving vessel at a controlled depth. Bait may be artificial or natural and attracts predator fish that see what appears to be a smaller fish thrashing and turning in the water. The lure may be nothing more than a colorful piece of cloth, a small bunch of feathers, or a piece of skin from the bait fish, but it must be carefully adapted to local conditions and fish species and size. The use of outriggers can increase the number of lines that can be trolled and helps keep them from becoming tangled.

Trolling offers numerous advantages to small-scale fisheries. Multiple trolling can be performed from a reasonably small craft. Changing sinker weights allows fishing at graduated depths. Lures can be made of local materials and easily changed for the target species. The use of artificial bait avoids the capture or purchase of live bait.

Trolling is also an excellent auxiliary method and can be used as the vessel is going to or returning from other fishing grounds (figure 2.18). Eligible areas include inshore or offshore waters, and target species may be pelagic or demersal. The introduction of trolling does not require high skills or a large investment in gear. Little labor is necessary in this fishing art. Sails are an ideal form of propulsion for this fishing method.


FIGURE 2.18 Additional fish can be caught by trolling between the fishing grounds and landing. The fishing depth can be adjusted by changing sinker weights.

A number of innovations can make trolling more efficient and save labor. Simple hand and electric reels can make work easier and allow more fish to be caught in a given time.

Large and small umbrella rigs permit the fishermen to have several hooks on a trolling line. For many species umbrella rigs are more attractive than conventional lures, perhaps because the multiple lures create the illusion of a school of fish. The number of lines a vessel can troll can also be increased by towing two smaller boats to spread the lines over a larger area (figure 2.19).


FIGURE 2.19 Multiple trolling lines can be used if poles, floats, small boats are used to spread the lines.

Depressors are used by Japanese fishermen for midwater trolling. These are flat, small boards weighted with lead at the front edge. The depressor itself is towed by a line attached near its front edge. Besides submerging the line, the board also wobbles, so that the hook jumps or jigs. When a fish takes the hook, the board tilts and rises to the surface.

Another trolling variation, the fish kite, is popular in Micronesia, Melanesia, and Indonesia. The kite is flown up to 100 m behind the boat, and its tail line carries a ball of cotton or a piece of sharkskin as bait. The kite is maneuvered so that the bait continuously bobs on the surface of the water and induces garfish to snap at it.

Jigging

The jigging technique involves mainly catching fish by impaling them with special hooks. In jigging, the line must be jerked to pierce the fish. Generally, the sharp hooks are weighted so that when they are pulled up, there will be sufficient momentum to penetrate the fish. In some cases, regular baited hooks are jigged manually or mechanically to attract attention to the bait. Special reels can be used to impart a jigging action to the line (figure 2.20).


FIGURE 2.20 Specially designed reels can give a jerking action to lines as they are hauled; they improve results in jigging.

Rippers or jigs are especially used to catch slow-moving fish that are spawning. They are also widely used throughout marine fisheries. The Norwegian Juksa-line catches cod by jigging, and the Turks jig for bluefish in the Bosporus. Special hooks are used in east Asia and the Mediterranean to jig squid. The potential exists for significant expansion of squid jigging by light attraction.

Jigging is a low-cost, low-energy technique that does not require bait. The live catch is easily brought into the boat. At the same time, it is labor intensive and time consuming, unless relatively expensive jigging machines are employed. Jigging requires knowledge of the local area to determine where and when it can be used.

Seining

Seines are long nets with meshes small enough to prevent the desired fish from gilling (filtering nets). They are generally set in a semicircle and dragged over a smooth bottom by means of long ropes (sweeps). In this way, the fish are herded into the net and hauled onto the beach or on board.

Beach Seines

Beach seines are especially appropriate for catching seasonal pelagic species as they feed near shore. They are most often set from the boat. One end remains on shore, while the rest of the net is set in a curved path and brought back to the beach (figure 2.21).


FIGURE 2.21 Using large beach seines is a group effort. One end is held on the beach while the other is rowed in a curve back to the beach and hauled in.

Once the second drag line is delivered to shore, the hauling begins. The bottom and water surface act as natural barriers for the fish encircled in the net. The wings may often be hundreds of meters long.

Large beach seines, however, are costly, and their use is restricted to large stretches of smooth, shallow bottoms with fairly mild surf. The net is species-indiscriminate and may catch juveniles of large-sized fish. Small two-man beach seines are often used for catching live bait or small fish (figure 2.22). These tend to have a uniform small mesh.


FIGURE 2.22 Smaller beach seines can be a two-person operation, useful for catching bait fish.

Beach seines have the potential for increased motorization and mechanization. Shore-anchored pulleys, tractors, jeeps, or even animals could be used to make hauling easier.

Boat Seines

Boat seines are set and hauled from a boat. A vessel anchors one end of the seine and sails in a circle, releasing the net, and returns to the anchor. The net is then hauled into the boat (figure 2.23).


FIGURE 2.23 Large boat seines are used by anchoring one end of the seine, sailing in a circle back to the anchor point, and hauling the net.

With small seines, this fishing technique can be used by smaller vessels without mechanization almost anywhere there is a smooth bottom (figure 2.24). The high skill involved in net design and the cost of its construction are liabilities.


FIGURE 2.24 Small boat seines can be handled by two fishermen without mechanization.

Boat seines have the potential of bringing small-scale fishermen to previously unexploited resources. However, any introduction of modern technologies (motorization of the boat, rope and net haulers, storage of nets and cables on reels) that would enlarge the area covered and could increase the catch, involves capital investment and an increase in running costs.

Purse Seines and Ring Nets

Purse seines are characterized by a line at the bottom of the net that is used to close off this escape route.

The purse seine can be set with one or two boats and must be fished quickly. Those that are operated with two boats are called ring nets. Light may also be used to attract the target species.

Purse seines are highly mobile and can capture whole large schools of pelagic species that gill nets and beach seines could not. Hauling can be done manually, and the catch is live.

Nevertheless, purse seines are costly and require highly skilled operators. Purse seining with two boats (ring netting) enables small, artisanal fishing craft to take advantage of this method (figure 2.26).


FIGURE 2.26 Purse seining with two boats (ring netting) allows smaller boats to use this technique.

Bottom Trawling

Trawls may be towed behind one or two boats or, in shallow waters, even dragged by a fisherman (figure 2.27). Trawl nets generally have a cone-shaped body with a wide opening between two wings. In bottom trawling, the net is towed on the bottom in order to capture shrimp and demersal fish.


FIGURE 2.27 Trawl nets can be pulled by one or two boats or, in shallow water, dragged by a fisherman.

Pair Trawling

Pair trawling uses two small boats to tow the trawl, one on each side (figure 2.28). Having two boats keeps the trawl net open. This method also permits boats with small (5 hp) engines to trawl and allows small-scale fishermen to compete with larger trawlers.


FIGURE 2.28 Boats without enough power to trawl singly can often trawl in pairs. Using two boats allows a wider area to be covered and makes it easier to keep the net open.

With the same total horsepower, more fish can be caught with pair trawling than if a single boat tows the net. Whereas the noise from a single engine directly in front of the trawl net can frighten fish from the path of the net, the noise from two engines on either side of the opening will scare some fish towards the center, directly into the net.

Pair trawling has limitations. Two boats must cooperate and work as a team. The fishing area is limited to smooth bottoms. Even in ideal areas, the net can be damaged or lost on a wreck or a rock.

The value of the catch must be at least equal to the sum of the value of the two vessels' catches if they fished alone.

E the boats have engines stronger than 8 hp. they are strong enough to tow sweeplines.These lines are made of heavy rope and are towed on the bottom in front of the wings of the trawl net. They serve to scare fish from a wider area into the net.

Single Boat Trawling

A single vessel with an adequate power source may also tow a trawl, but otter boards or a beam are required to open the net horizontally.

Beam trawls are the simplest trawls and are used primarily to capture flatfish and shrimp (figure 2.29). The horizontal opening for these nets is provided by a beam made of wood or metal that can measure up to 10 m in length.


FIGURE: 2.29 Beam trawling is accomplished from a single boat. An 8-to 10-m pole (beam) is used to keep the net open horizontally to capture flatfish or shrimp.

Smaller beams, about 2 m in length, are used with rowboats in Portuguese rivers. Although small beam trawls might be used by artisanal fishermen, they obviously lack the fishing spread of larger trawls, which require power and mechanization.

Otter trawling is a more complex fishing system. These trawling nets have their horizontal opening maintained by the shearing action of the heavy otter boards (figure 2.30). Demersal or pelagic species can be captured by this fishing method in shallow waters.


FIGURE 2.30 In otter trawling, two flat (otter) boards are used at either end of the net to hold it open.

Otter trawling gives fishermen broad access to marine resources. But the high costs, large energy requirements, and the specialized skills required to maintain the equipment and use it effectively make it feasible for small-scale fisheries only under very favorable conditions. The minimum power for an otter trawling boat is 30-40 hp with a relatively high gear ratio (low propeller rpm) and a large propeller diameter to provide maximum towing power.

Electronic Equipment

Much marine electronic equipment was initially developed for military use in communications, navigation, and underwater reconnaissance during World War II. Postwar growth in the electronics industry resulted in lower costs for this type of equipment and ocean-going fishermen began to use it. As costs decreased even more, the market has broadened to include smaller-scale commercial and sport fishermen.

Although probably still beyond the reach of most individual fishermen in developing countries, some of this equipment may be cost effective for shared use in villages or cooperatives.

Perhaps the most useful for nearshore fishermen would be aids to fish location. The simplest of these is an electronic thermometer. Seawater temperature can markedly affect fish-feeding habits, and in thermally stratified water, species may concentrate at depths based on temperature. In addition to the value of knowing absolute temperature and its relationship to fish feeding and depth, changes in temperature are also important. Seawater temperature can remain constant over a wide area; a change of a degree or even less can indicate an upwelling or current boundary where fish may cluster. Stem thermometers that rely on liquid or metal expansion and contraction for temperature readings are not responsive enough for this application. Simple digital readout electronic thermometers can display instantaneous temperature changes of tenths of a degree. These are available for less than $100.

Another valuable device is an electronic depth recorder. These can indicate water depth, bottom formations, and fish locations. Boats need travel no farther than is necessary to detect fish. Nets and lines can be set and hauled with greater efficiency. Rocky bottoms potentially damaging to trawls can be detected. The results of a properly used depth recorder can be dramatic and should have a direct and visible economic benefit. To use this equipment, a fisherman must install a transducer on the hull. A method of installing this unit on temporary brackets has been developed to allow its ready transfer from vessel to vessel. Costs for these echo sounders range from $200 to $600.

Although excellent Loran and satellite electronic navigation aids are available, their costs are prohibitive. Where appropriate radio stations operate, inexpensive radio direction finders can be used to plot positions and plan courses.

LIMITATIONS

The introduction of fishing gear and methods to an area, whether these methods are technically new or simply new to a given region, is not without dangers.

Gear and methods are highly site specific. The fishing arts that have developed in a region are usually the best suited for the species and size desired, the given marine conditions, and the community's economy and structure. New methods may often be inappropriate and rejected by local fishermen.

Introduced gear may be too costly for the local economy to sustain. What appears to be economical to an outside observer is often impossibly expensive for the fishing community unless increased credit is made available. Innovations should be tested on a pilot scale to ensure that they are economically viable.

Many coastal waters are overfished. Upgrading the gear and making it more efficient increases the risk of depleting the fishing stocks even more. Therefore, the introduction of any new gear or methods must be accompanied by proper monitoring and protection of the marine resources.

More sophisticated fishing arts may require training for the fishermen. At the same time, modifications in gear may necessitate simultaneous improvements in the design, power, and size of fishing vessels.

Almost all marine electronic equipment requires 12 volts DC to operate, although current requirements are fairly low, less than 10 amps. Because most of this equipment is not designed for user repair, maintenance is a more severe problem. The most practical approach is to minimize the number of different models in use.

RESEARCH NEEDS

A persistent concern when introducing new gear or methods is that of exceeding sustainable fishing yields, thereby making the fisherman's lot temporarily better but ultimately worse. Research on simple methods for determining fish populations and their regenerative capacity could be very valuable. New gear or methods could then be used without fear of overfishing.

In situations where specific gear is potentially valuable but too costly for a fishing community, adaptive research on local manufacture using local materials could be an alternative.

More information on combinations of attraction and capture methods is needed. The use of fish-aggregating devices (chapter 3) or light in conjunction with complementary traps or nets could improve the catch of specific sizes species.

SELECTED READINGS

Andreev, N. N. 1962. Handbook of Fishing Gear and it& Rigging. Israel Program for Scientific Translations, Jerusalem, Israel.

Atlantic and Gulf Fishing Supply Corporation. 1986. Catalog. Miami, Florida, USA.

Ben-Yami, M. 1976. Fishing with Light. Fishing News Books Ltd., Surrey, U.K.

Ben-Yami, M. 1980. Tuna Fishing with Pole and Line. Fishing News Books Ltd., Surrey, U.K.

Brabant, J. C., and C. Nedelec. 1983. Bottom Trawls for Small-Scale Fishing: Adaptation for Pair Trawling. FAO Fisheries Technical Paper 189, FAO, Rome, Italy.

Crossland, J., and R. Grandperrin. 1980. The Development of Deep Bottom Fishing in the Tropical Pacific. South Pacific Commission, Post Box D5, Noumea, New Caledonia.

Doyi, B. A. 1984. Catalogue of Small-Scale Fishing Gear of Ghana. Research and Utilization Branch, Fisheries Department, Tema, Ghana.

Food and Agriculture Organization of the United Nations (FAO). 1980. Otter Board Design and Performance. FAO Fishing Manuals, Rome, Italy.

Food and Agriculture Organization of the United Nations. 1980. Echo Sounding and Sonar for Fishing. Fishing News Books Ltd., Surrey, U.K.

Garner, John. 1980. How to Make and Set Nets or The Technology of Netting. Fishing News Books Ltd., Surrey, U.K.

Hoey, J. J., and J. G. Casey. 1986. Shark longline fisheries: gear and production characteristics. Pp. 169-186 in: Proceedings of the 97th Annual Gulf and Caribbean Fisheries Institute. F. Williams (ed.). GCFI, Miami, Florida, USA.

Kumagai, S., T. Bagarinao, and A. Unggui. 1980. A study on the milk fish fry fishing gears in Panay Island, Philippines. Southeast Asian Fisheries Development Center Technical Report No. 6, Tigbauan, Iloilo, Philippines.

Laitin, J. 1986. The case for longlining. Oceans 19(1):35-38.

Lorimer, P. D. 1984. Net Mending and Patching. SAFIS Extension Manual Series No. 14., 956 Rama IV Road, Olympia Building, 4th floor, Bangkok, Thailand.

Motoh, H., 1980. Fishing gear for prawn and shrimp used in the Philippines today. Southeast Asian Fisheries Development Center Technical Report No. 5, Tigbauan, Iloilo, Philippines.

Mutton, B. 1983. Engineering Application&: £; Hauling Devices for Small Fishing Craft. FAO Fisheries Technical Paper 229, Rome, Italy.

Nedelec, C. 1982. Definition and Clarification of Fishing Gear Categories. FAO Fisheries Technical Paper 222, Rome, Italy.

Noel, H. S., and M. Ben-Yami. 1980. Pair Trawling untie Small Boats, FAO Training Series 1, Rome, Italy.

Olsen, D. A., A. E. Dammann, and D. Neal. 1974. A vertical longline for red snapper fishing. Marine Fishery Review 36(1):7-9.

Rosman, I. 1980. Fishing with Bottom Gillnets, FAO Training Series 3, Rome, Italy.

Stewart, L. 1982. An Introduction to Gill Net Construction and Design. Barnstable County Cooperative Extension Service, Barnstable, Massachusetts, USA.

South Pacific Commission, 1984. Notes on the construction of the FAO wooden fishing reel, Handbook No. 25 (1984), Noumea, New Caledonia.

Taiwan Fisheries Research Institute, 1972. Fishing Gear and Methods, Keelung, Taiwan.

Thomson, D. B. 1980. The Seine Net-Its Origin, Evolution and Use. Fishing News Books Ltd., Surrey, U.K.

van Brandt, A. 1984. Fish Catching Methods of the World Fishing News Books, Ltd. Surrey, U.K.

Voss, G. L. 1985. Octopus fishery information leaflet, Gulf and South Atlantic Fisheries Development Foundation, Miami, Florida, USA.

Yamaha Motor Company, Ltd. 1986. Fishery Journal (Composite). Yamaha Motor Co., Ltd., Japan.

Yamelu, T. 1985. Traditional fishing technology of Bwaiyowa Fergussen Island, Milne Bay Province. Appropriate Technology 12(3):10-12.

RESEARCH CONTACTS

Atlantic and Gulf Fishing Supply Corp., 591 Southwest 8th Street, Miami, Florida 33130.
Fisheries Technology Service, Department of Fisheries, United Nations Food and Agriculture Organization (FAO), Via delle Terme di Caracalla, 00100 Rome, Italy (S. Drew, J. Fyson).
Fisheries Department, South Pacific Commission, Post Box D5, Noumea, New Caledonia.

Gulf and South Atlantic Fisheries Development Foundation, University of Miami, Florida, 33149 (G. L. Voss).

International Center for Marine Resource Development, 126 Woodward Hall, University of Rhode Island, Kingston, Rhode Island, 02881 USA.

M. Ben-Yami, 2, Dekel St. K. Tiveon 30000, Israel

Southeast Asian Fisheries Information Service, 956 Rama IV Road, Olympia Building, 4th Floor, Bangkok 10500, Thailand.

Yamaha Motor Co., 3380-67 Mukojima Arai-cho, Hamana-gun, Shizuoka-ken 431-03 Japan (T. Fukamachi).

Rich Electronics, Inc., 3300 Northwest 21st Street, Miami, Florida 33142 USA (R. Rich, Jr.).

TO PREVIOUS SECTION OF BOOK TO NEXT SECTION OF BOOK